授权公布号:CN219025847U
一种阀体铸造浇铸系统
有效
申请
2022-12-19
申请公布
1970-01-01
授权
2023-05-16
预估到期
2032-12-19
| 申请号 | CN202223404081.0 |
| 申请日 | 2022-12-19 |
| 授权公布号 | CN219025847U |
| 授权公告日 | 2023-05-16 |
| 分类号 | B22C9/08;B01D29/03 |
| 分类 | 铸造;粉末冶金; |
| 申请人名称 | 远大阀门集团有限公司 |
| 申请人地址 | 河北省邢台市隆尧县西尹村 |
专利法律状态
2023-05-16
授权
状态信息
授权
摘要
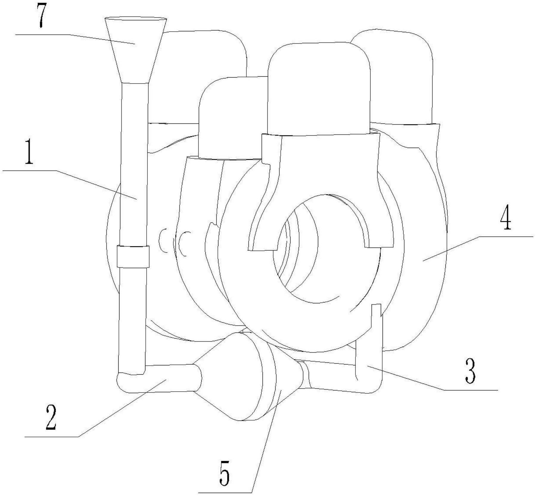
本实用新型公开了一种阀体铸造浇铸系统,包括沿钢水流经方向依次设置并相互连通的直浇道、横浇道、内浇道和模具,所述横浇道上设有过滤装置,所述过滤装置中部的截面直径大于横浇道的直径,所述内浇道设有多条,多条所述内较大的流通面积之和大于横浇道的流通面积。在本实用新型中,钢水依次经过直浇道、横浇道、内浇道和模具的同时,被过滤装置过滤,使钢水更加洁净,提高阀体的铸造质量,同时条所述内较大的流通面积之和大于横浇道的流通面积能够减缓钢水的流速,从而降低钢水对模具的冲击力,防止型砂脱落混入钢水中,影响阀体的质量。


