授权公布号:CN219299967U
一种暗杆闸阀
有效
申请
2023-03-31
申请公布
1970-01-01
授权
2023-07-04
预估到期
2033-03-31
| 申请号 | CN202320694565.9 |
| 申请日 | 2023-03-31 |
| 授权公布号 | CN219299967U |
| 授权公告日 | 2023-07-04 |
| 分类号 | F16K3/02;F16K3/30;F16K27/04;F16K35/10 |
| 分类 | 工程元件或部件;为产生和保持机器或设备的有效运行的一般措施;一般绝热; |
| 申请人名称 | 远大阀门集团有限公司 |
| 申请人地址 | 河北省邢台市隆尧县西尹村 |
专利法律状态
2023-07-04
授权
状态信息
授权
摘要
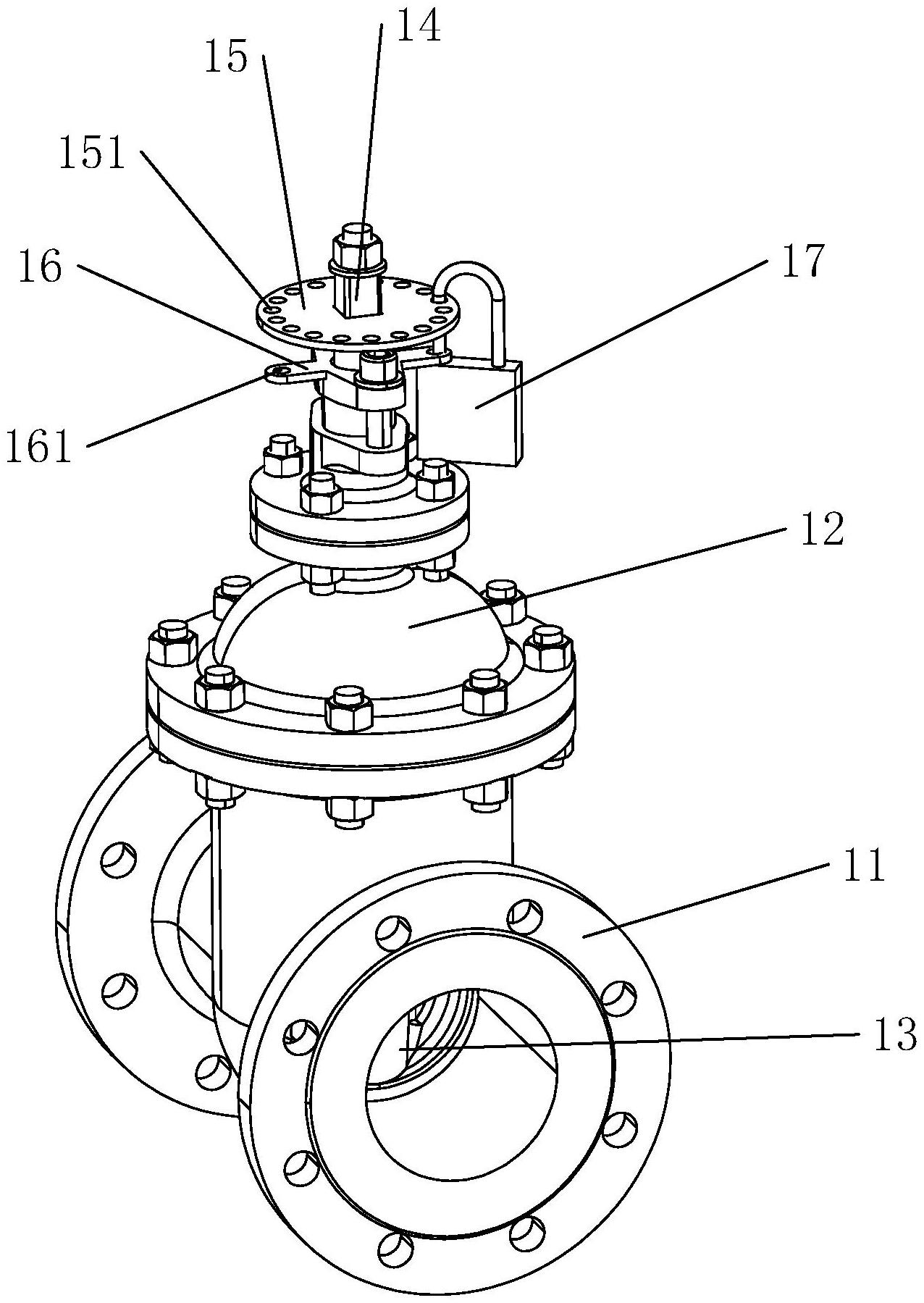
本申请涉及一种具有锁定组件的暗杆闸阀,尤其是涉及一种暗杆闸阀,包括:阀体;阀盖,设于阀体上;阀板,滑动连接于阀体上;阀杆,转动连接于阀盖上并与阀板螺纹连接;转盘,固定于阀杆上,且转盘上开设有第一通孔;固定杆,固定于阀盖上,且固定杆上开设有第二通孔;以及锁定组件,穿过第一通孔和第二通孔以将转盘和固定杆锁定。本申请通过在阀盖上设置固定杆,并利用锁定组件将转盘与固定杆进行锁定,进而避免了暗杆闸阀使用过程中工作人员误操作转动阀杆的问题,提高了暗杆闸阀使用过程中的安全性。


