授权公布号:CN110924827B
一种耐火单元窗
有效
申请
2019-10-23
申请公布
2020-03-27
授权
2021-09-03
预估到期
2039-10-23
| 申请号 | CN201911015815.6 |
| 申请日 | 2019-10-23 |
| 申请公布号 | CN110924827A |
| 申请公布日 | 2020-03-27 |
| 授权公布号 | CN110924827B |
| 授权公告日 | 2021-09-03 |
| 分类号 | E06B5/16;E06B3/263;E06B3/964;E06B3/58;E06B7/22;E06B7/14 |
| 分类 | 一般门、窗、百叶窗或卷辊遮帘;梯子; |
| 申请人名称 | 青岛万和装饰门窗工程有限公司 |
| 申请人地址 | 山东省青岛市崂山区海尔路180号2号楼15层1501户 |
专利法律状态
2021-12-03
专利权质押合同登记的生效、变更及注销
状态信息
专利权质押合同登记的生效;IPC(主分类):E06B5/16;登记号:Y2021370010122;登记生效日:20211117;出质人:青岛万和装饰门窗工程有限公司;质权人:青岛农村商业银行股份有限公司贵州路支行;发明名称:一种耐火单元窗;申请日:20191023;授权公告日:20210903
2021-09-03
授权
状态信息
授权
2020-04-21
实质审查的生效
状态信息
实质审查的生效;IPC(主分类):E06B5/16;申请日:20191023
2020-03-27
公布
状态信息
公布
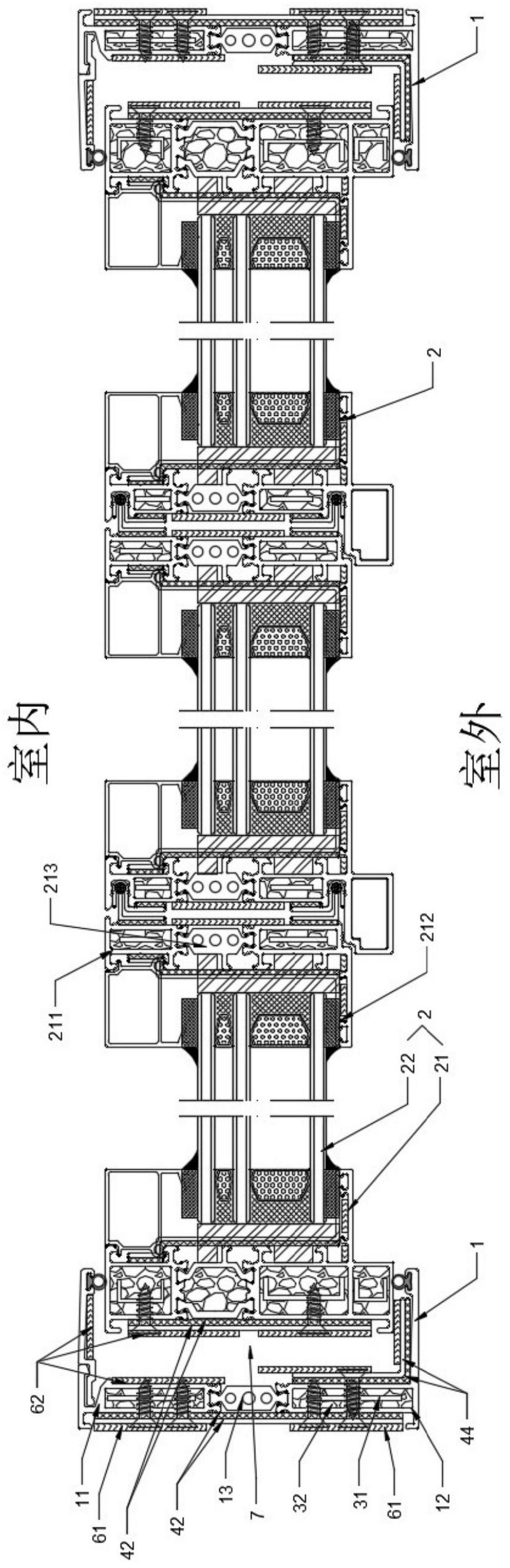
摘要
本发明公开了一种耐火单元窗,包括与墙体连接的外框、安装于外框内的至少两个单元窗体,单元窗体包括窗框架体和窗玻璃;窗框架体和外框内均设置纵向或横向分布的空腔,空腔内分布纵向加强支架或横向加强支架,且空腔内灌注耐火隔热填充材料,纵向加强支架与横向加强支架的邻近端通过钢制角码进行固接;窗框架体或外框分别同时与加强支架、钢制角码螺接;沿窗框或外框的角部外壁贴合固设外侧角部耐火强化结构,外侧角部耐火强化结构包括重叠设置的角钢和陶瓷纤维耐高温防火棉条,外侧角部耐火强化结构与窗框架体/外框、角码和加强支架螺接。耐火单元窗提高了耐火内骨架与外部框架的整体结构的连接强度和耐火性能,具有较好的气密性和水密性。


