授权公布号:CN217328738U
一种球阀球体启闭结构及球阀
有效
申请
2022-05-19
申请公布
1970-01-01
授权
2022-08-30
预估到期
2032-05-19
| 申请号 | CN202221206268.7 |
| 申请日 | 2022-05-19 |
| 授权公布号 | CN217328738U |
| 授权公告日 | 2022-08-30 |
| 分类号 | F16K31/60;F16K5/06;F16K5/08;F16K31/53 |
| 分类 | 工程元件或部件;为产生和保持机器或设备的有效运行的一般措施;一般绝热; |
| 申请人名称 | 远大阀门集团有限公司 |
| 申请人地址 | 河北省邢台市隆尧县西尹村 |
专利法律状态
2022-08-30
授权
状态信息
授权
摘要
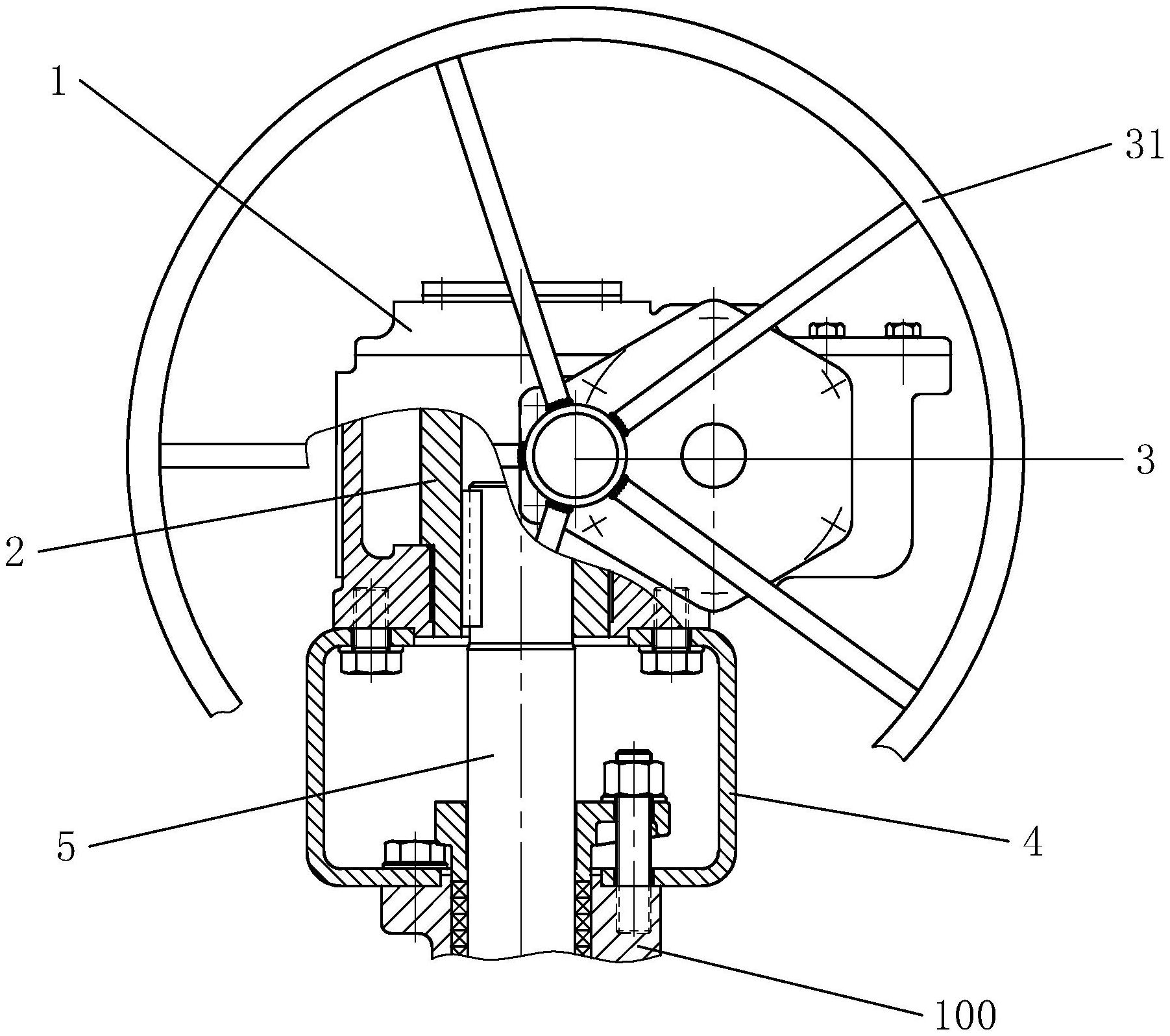
本实用新型涉及涉及球阀的启闭结构,尤其涉及一种球阀球体启闭结构以及球阀,该球阀球体启闭结构包括壳体,其内部转动连接有蜗轮和蜗杆,蜗杆与蜗轮啮合;连接架,一端与壳体固定连接、另一端与壳体固定连接;以及阀杆,转动连接于阀体的内部,阀杆的一端与球体固定连接、另一端与涡轮固定连接;其中,连接架位于壳体与阀体之间,阀杆穿过连接架。本实用新型利用蜗轮蜗杆对阀杆进行传动,然后使蜗轮对阀杆进行驱动,以使球体进行启闭,解决了直接旋拧阀杆对阀杆扭矩较大的问题,降低了启闭球体的过程中阀杆断裂的风险。


