授权公布号:CN214220541U
一种可控制升降式盘扣脚手架
有效
申请
2020-12-08
申请公布
1970-01-01
授权
2021-09-17
预估到期
2030-12-08
| 申请号 | CN202022918557.7 |
| 申请日 | 2020-12-08 |
| 授权公布号 | CN214220541U |
| 授权公告日 | 2021-09-17 |
| 分类号 | E04G1/22;E04G1/24;E04G5/00;E04G5/02;G01G19/52;G01G23/18 |
| 分类 | 建筑物; |
| 申请人名称 | 中桥华铁工程科技股份有限公司 |
| 申请人地址 | 河北省沧州市任丘市燕山装备制造工业园区2号路厂房 |
专利法律状态
2021-09-17
授权
状态信息
授权
摘要
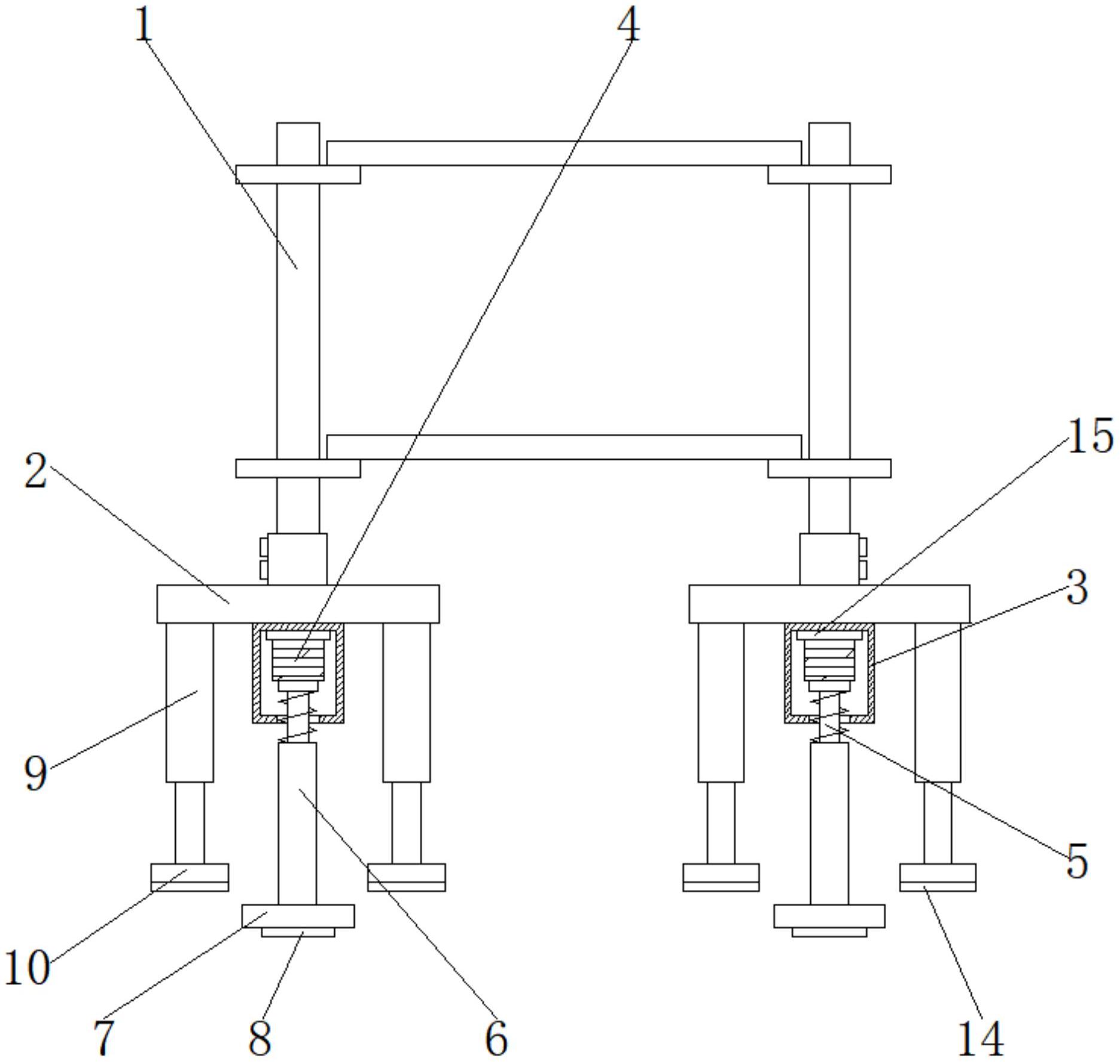
本实用新型公开了一种可控制升降式盘扣脚手架,包括盘扣脚手架本体,所述盘扣脚手架本体的底部通过销轴活动连接有支撑板,所述支撑板的底部固定连接有固定箱,所述固定箱的内腔固定连接有电机,所述电机的输出端固定连接有螺纹杆,所述螺纹杆的底部贯穿至固定箱的底部,所述螺纹杆的表面螺纹连接有螺纹管。本实用新型通过盘扣脚手架本体、支撑板、固定箱、电机、螺纹杆、螺纹管、支撑盘、荷载传感器、液压伸缩杆、固定盘、控制器、防水显示屏和警报器的配合使用,能够将盘扣脚手架本体根据需要进行高度的调节,并且能够对盘扣脚手架本体上的负重进行检测,当负重超限时会进行警报,提高了盘扣脚手架本体使用的安全性。


