授权公布号:CN214034731U
一种可调节轮扣式脚手架
有效
申请
2020-12-08
申请公布
1970-01-01
授权
2021-08-24
预估到期
2030-12-08
| 申请号 | CN202022919734.3 |
| 申请日 | 2020-12-08 |
| 授权公布号 | CN214034731U |
| 授权公告日 | 2021-08-24 |
| 分类号 | E04G7/34 |
| 分类 | 建筑物; |
| 申请人名称 | 中桥华铁工程科技股份有限公司 |
| 申请人地址 | 河北省沧州市任丘市燕山装备制造工业园区2号路厂房 |
专利法律状态
2021-08-24
授权
状态信息
授权
摘要
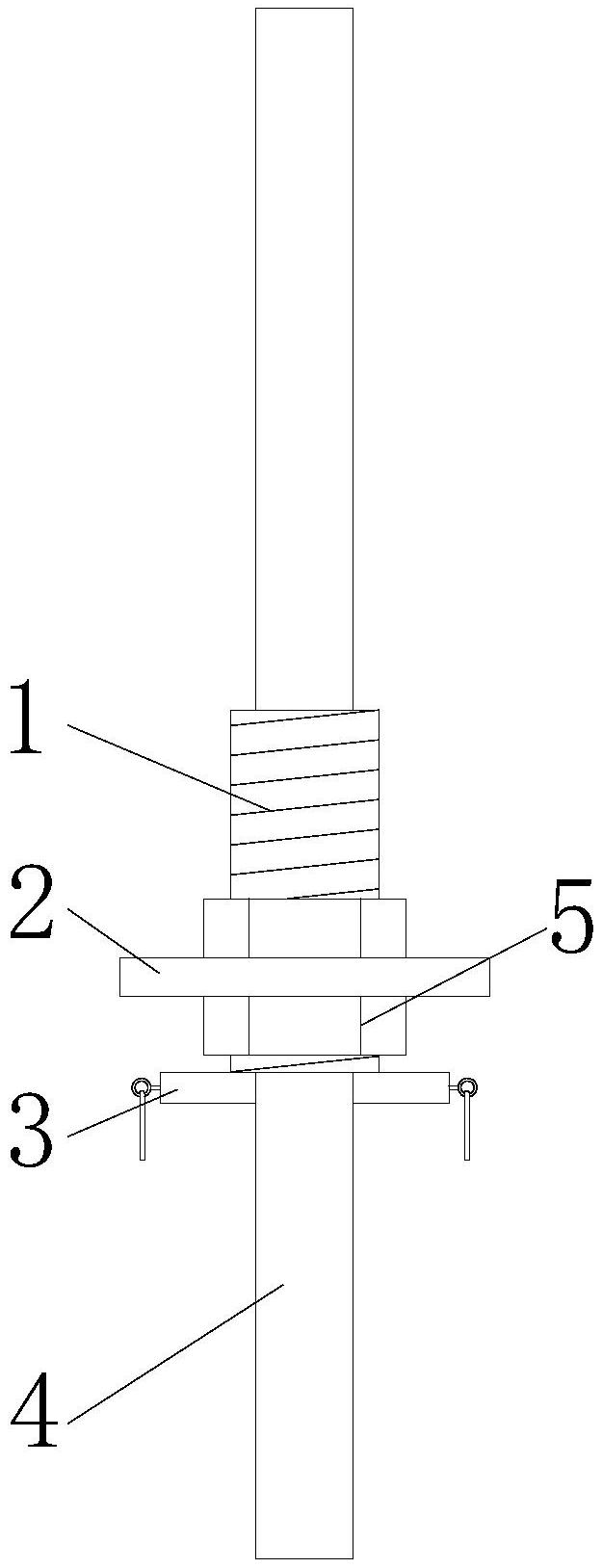
本实用新型公开了一种可调节轮扣式脚手架,包括钢管和销座,所述钢管表面的两侧均开设有销孔,所述销座的数量为两个,两个所述销座相互远离一侧的中端活动连接有拉杆,两个所述拉杆相互靠近的一侧且位于销座的内腔固定连接有销杆,所述销杆的表面活动连接于销孔的表面,两个所述销杆表面相互远离的一侧与销座内腔的表面之间固定连接有弹簧,两个所述销座外表面的顶部之间固定连接有活动螺纹套。本实用新型通过拉杆、销杆、销座、弹簧、钢管、销孔、活动螺纹套与固定螺母以及轮扣盘之间相互配合的作用下,实现了本轮扣脚手架的轮扣盘具备高度调节的功能,操作方便快捷,极大的满足了使用者的使用需求。


