授权公布号:CN107452977B
一种电池注胶装置
有效
申请
2017-06-13
申请公布
2017-12-08
授权
2024-03-19
预估到期
2037-06-13
| 申请号 | CN201710440950.X |
| 申请日 | 2017-06-13 |
| 申请公布号 | CN107452977A |
| 申请公布日 | 2017-12-08 |
| 授权公布号 | CN107452977B |
| 授权公告日 | 2024-03-19 |
| 分类号 | B05C13/02 |
| 分类 | 基本电气元件; |
| 申请人名称 | 中银(宁波)电池有限公司 |
| 申请人地址 | 浙江省宁波市高新区星光路128号 |
专利法律状态
2024-03-19
授权
状态信息
授权
2018-01-05
实质审查的生效
状态信息
实质审查的生效;IPC(主分类):H01M10/04;申请日:20170613
2017-12-08
公布
状态信息
公布
摘要
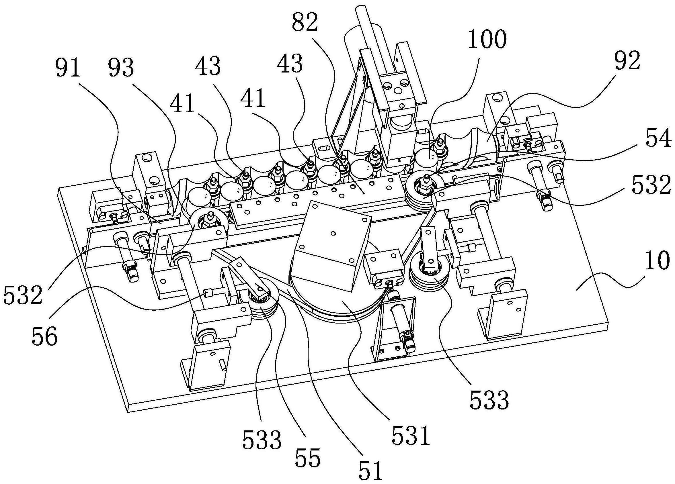
本发明提供了一种电池注胶装置,属于电池生产技术领域。本电池注胶装置包括:主板,在主板上设有用于输送呈一列设置的电池钢壳的输送通道;注胶组件,用于往电池钢壳内注胶;转动组件,包括与输送通道内的电池钢壳间隔设置的的一列转动轴承,整列转动轴承同步运动且可靠近或远离输送通道,整列转动轴承同步位移时,各转动轴承分别卡入对应两个电池钢壳之间的空隙,此时各转动轴承外壁与对应两个电池钢壳的外壁转动连接;传动组件,与转动组件分列输送通道两侧,传动组件包括活动设置且可靠近或远离输送通道的传动皮带,传动皮带靠近输送通道时可同时与整列电池钢壳外壁接触并带动电池钢壳转动。本电池注胶装置能将胶涂匀隔膜纸底部。


