授权公布号:CN218267282U
一种一体式水利阀铜配件结构
有效
申请
2022-07-06
申请公布
1970-01-01
授权
2023-01-10
预估到期
2032-07-06
| 申请号 | CN202221750482.9 |
| 申请日 | 2022-07-06 |
| 授权公布号 | CN218267282U |
| 授权公告日 | 2023-01-10 |
| 分类号 | F16K1/32;F16K1/36;F16K1/46;F16K37/00;F16K27/02 |
| 分类 | 工程元件或部件;为产生和保持机器或设备的有效运行的一般措施;一般绝热; |
| 申请人名称 | 远大阀门集团有限公司 |
| 申请人地址 | 河北省邢台市隆尧县西尹村 |
专利法律状态
2023-01-10
授权
状态信息
授权
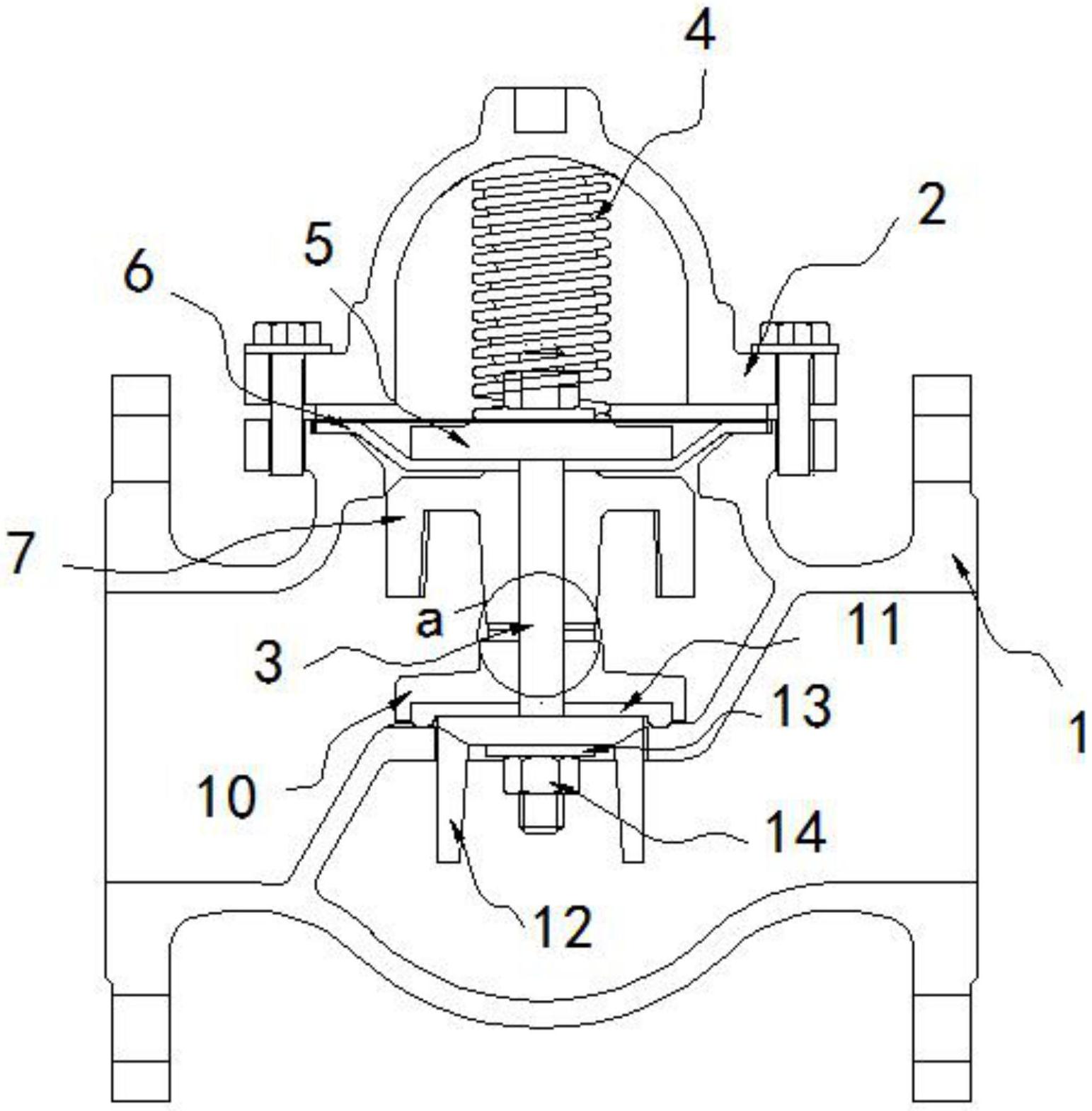
摘要
本实用新型公开了一种一体式水利阀铜配件结构,包括阀体、阀盖和阀杆;阀盖,设置在所述阀体的上方,且阀盖的内部设置有阀杆;还包括:弯头和转接头,均固定在所述阀体的前侧,且弯头的上方设置有光面钢管,并且光面钢管与弯头之间通过钢球阀进行连接,而且转接头与光面钢管的上端进行连接;上导向压盘,设置在所述阀体的内部,且阀体的内部滑动卡合有下导向压盘;阀瓣,设置在所述阀杆的外侧。该一体式水利阀铜配件结构,水利阀铜配件由组装结构更改为一体式结构,进而减少连接口的数量,减少过程漏点,提高产品质量,通过一体化的设置减少铜配件的安装时间,提高工作效率,通过内部的铜球阀的启闭开合调节水的流向。


