授权公布号:CN210944306U
一种蚕丝加工用络丝装置
有效
申请
2019-09-05
申请公布
1970-01-01
授权
2020-07-07
预估到期
2029-09-05
| 申请号 | CN201921472053.8 |
| 申请日 | 2019-09-05 |
| 授权公布号 | CN210944306U |
| 授权公告日 | 2020-07-07 |
| 分类号 | B65H67/04;B65H67/06 |
| 分类 | 输送;包装;贮存;搬运薄的或细丝状材料; |
| 申请人名称 | 安徽京九丝绸股份公司 |
| 申请人地址 | 安徽省阜阳市经济技术开发区105国道76号 |
专利法律状态
2020-07-07
授权
状态信息
授权
摘要
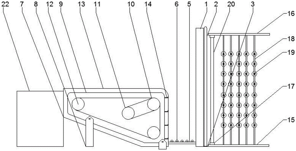
本实用新型公开了一种蚕丝加工用络丝装置,包括限位装置,所述限位装置左侧下端连接有输送装置,输送装置左侧连接有传送装置,传送装置包括支撑柱和夹板,所述传送装置下端通过支撑柱固定于地面上,所述夹板分为两块,两所述夹板之间安装有传送带,传送带外侧安装有若干个传送板,所述两夹板之间位于传送带内侧固定安装有驱动装置,驱动装置右侧连接有主动带轮,主动带轮左侧和下端均安装有从动带轮,所述主动带轮与两所述从动带轮构成一个三角形结构。本实用新型通过底板与顶板的转动连接,便于调整丝筒的方位,方便取下丝筒和更换丝筒。


