授权公布号:CN212534917U
一种隔音阻燃橡胶地板
有效
申请
2020-04-20
申请公布
1970-01-01
授权
2021-02-12
预估到期
2030-04-20
| 申请号 | CN202020598211.0 |
| 申请日 | 2020-04-20 |
| 授权公布号 | CN212534917U |
| 授权公告日 | 2021-02-12 |
| 分类号 | E04F15/10; |
| 分类 | 建筑物; |
| 申请人名称 | 大连高科阻燃橡胶有限公司 |
| 申请人地址 | 辽宁省大连市庄河市新华街道徐岭村(新华工业园区) |
专利法律状态
2021-02-12
授权
状态信息
授权
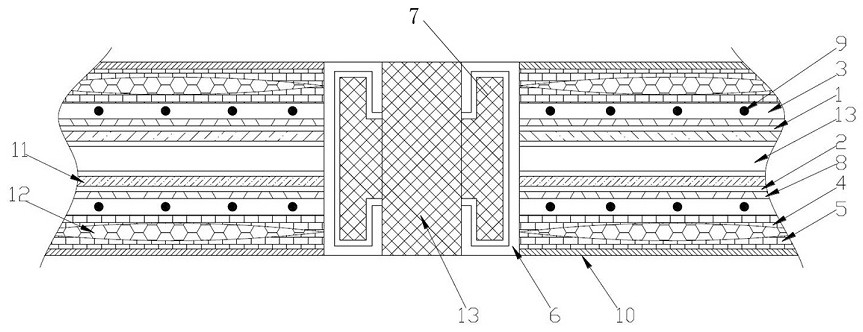
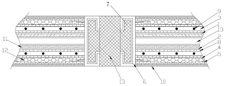
摘要
本实用新型属于装饰地板技术领域,具体公开了一种隔音阻燃橡胶地板,包括上基板、下基板、木材板、阻燃内层、阻燃外层、卡扣槽体和工型连接件,所述上基板和下基板之间设置有真空层,所述上基板和下基板上粘结有隔音层,隔音层上粘结有木材板,木材板内填充有若干阻燃胶;所述木材板上粘结有阻燃内层,阻燃内层上粘接有阻燃外层,阻燃外层上设置有耐磨层;所述地板整体的两端固定有卡扣槽体,卡扣槽体与工型连接件卡接;该橡胶地板具有良好的隔音阻燃功能,同时具有良好的防撞缓冲功能。


