授权公布号:CN214903487U
鸡架腹膜切割机
有效
申请
2021-04-20
申请公布
1970-01-01
授权
2021-11-30
预估到期
2031-04-20
| 申请号 | CN202120801454.4 |
| 申请日 | 2021-04-20 |
| 授权公布号 | CN214903487U |
| 授权公告日 | 2021-11-30 |
| 分类号 | A22C21/00;B26D1/15;B26D7/06;B26D7/08 |
| 分类 | 屠宰;肉品处理;家禽或鱼的加工; |
| 申请人名称 | 青岛正大有限公司 |
| 申请人地址 | 山东省青岛市即墨市龙泉街道张家小庄村南 |
专利法律状态
2021-11-30
授权
状态信息
授权
摘要
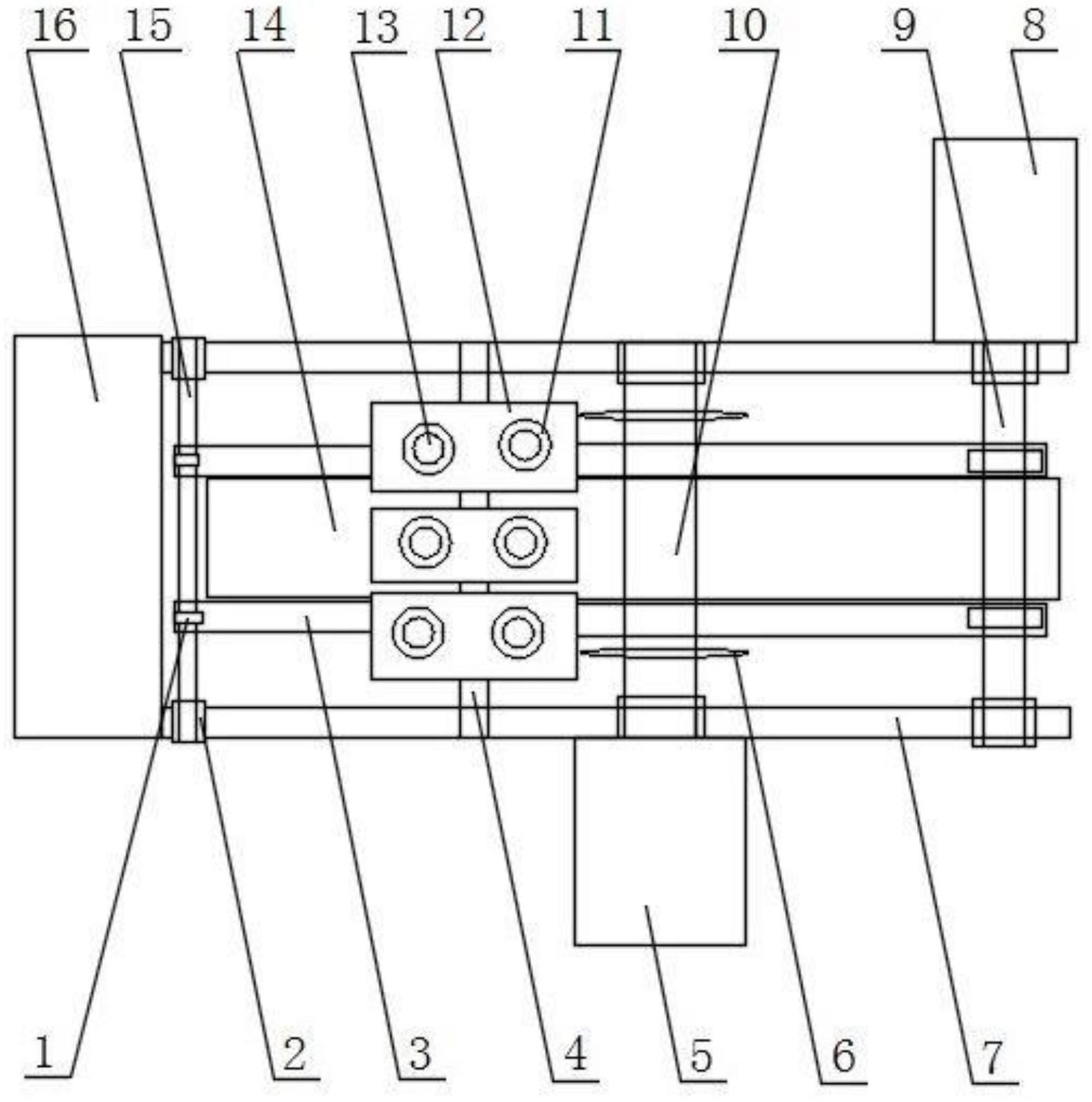
一种鸡架腹膜切割机,其特点是在框状底架上有两条纵向齿链条,两条齿链条后端有张紧轴,齿链条前端有传动轴,张紧轴、传动轴的两端轴承座固定在底架上,传动轴左端有输送电机;底架上面中部有上置的门框状横向支架,支架上横梁上排着三块纵向座板,座板上均装着两根的弹簧压杆,弹簧压杆与座板之间有螺栓导套,弹簧压杆的下端头上有平向的压料板;横向支架前方底架上装有横向的切刀轴,切刀轴上排装着两把圆盘状的切刀,两把切刀分别位于两条齿链条的外侧,切刀轴的右端装有切刀电机;底架的后端装有工作台。它解决了人工切割鸡架腹膜,工作效率低,劳动强度大的问题,特别适合肉食鸡加工企业使用。


