授权公布号:CN215887489U
一种地弹坪生产用簇绒机
有效
申请
2021-05-08
申请公布
1970-01-01
授权
2022-02-22
预估到期
2031-05-08
| 申请号 | CN202120975892.2 |
| 申请日 | 2021-05-08 |
| 授权公布号 | CN215887489U |
| 授权公告日 | 2022-02-22 |
| 分类号 | D05C15/10;D05C15/22;D05C15/20 |
| 分类 | 缝纫;绣花;簇绒; |
| 申请人名称 | 多利隆人造草坪集团有限公司 |
| 申请人地址 | 陕西省西安市蓝田县蓝田工业园区内101省道东侧 |
专利法律状态
2022-02-22
授权
状态信息
授权
摘要
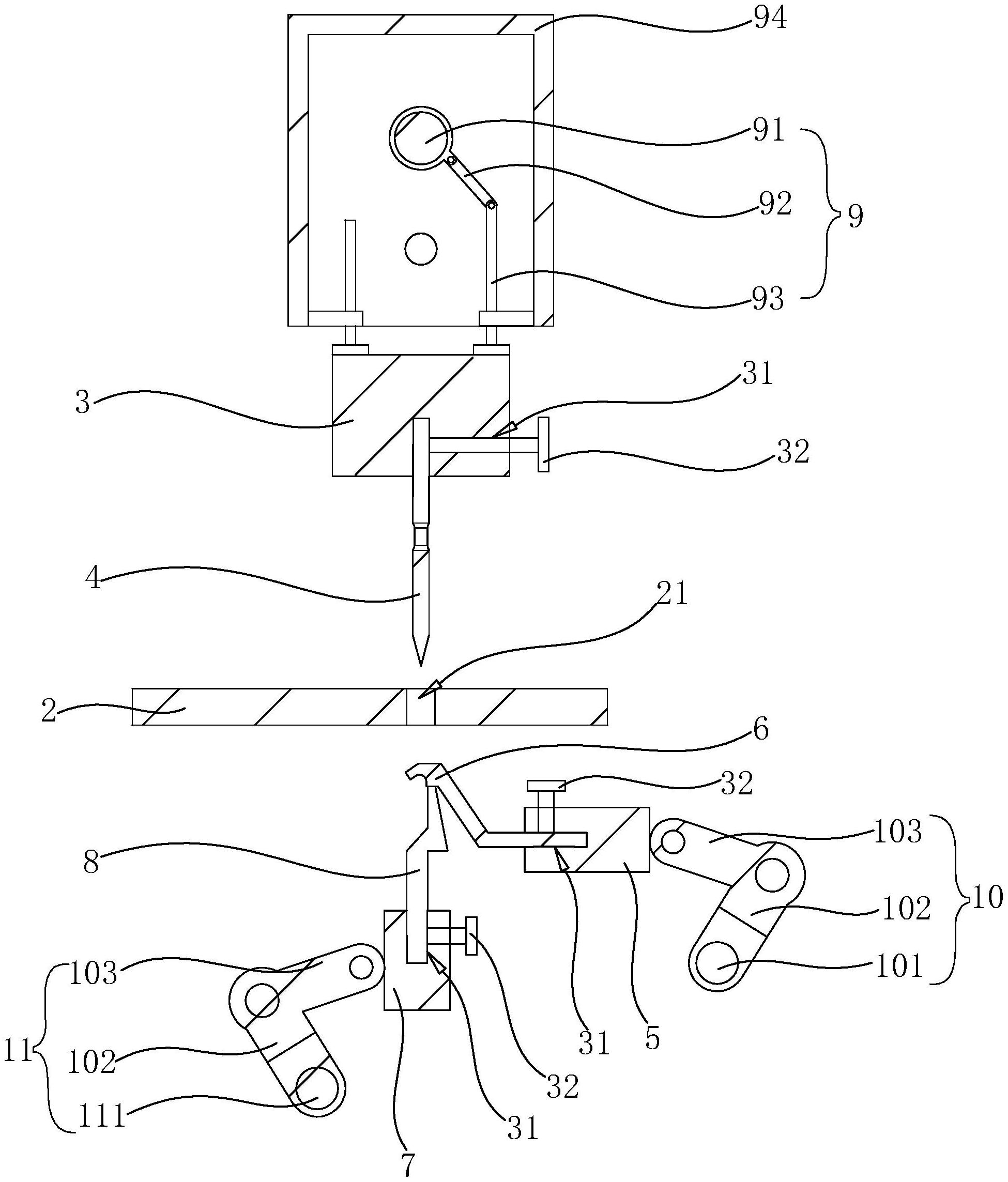
本申请涉及一种地弹坪生产用簇绒机,其包括机架、托布板、针座、针、主勾基座、主勾刀、副勾基座、副勾刀,针为多个且等间隔固定在针座靠近托布板一侧,托布板上与针位置匹配设有多个供针穿过的托布板孔,副勾基座设在托布板下方,副勾刀与针个数相同且等间隔固定在副勾基座靠近托布板一侧,主勾基座平行设在托布板下方,主勾刀为多个且与副勾刀匹配,主勾刀固定在主勾基座靠近副勾基座一侧,簇绒机还包括针座驱动机构、主勾驱动机构、副勾驱动机构及主驱动机构。本申请的簇绒机使用时在主勾刀勾住下落在托布板下方的针上的纱线的同时,使用副勾刀勾住前一针主勾刀上的纱线,有效地减少纱线的上移,使编织好的地弹坪草高一致,毯面更加平整。


