授权公布号:CN208621189U
一种AHU控制装置
有效
申请
2018-07-25
申请公布
1970-01-01
授权
2019-03-19
预估到期
2028-07-25
| 申请号 | CN201821180082.2 |
| 申请日 | 2018-07-25 |
| 授权公布号 | CN208621189U |
| 授权公告日 | 2019-03-19 |
| 分类号 | G01J5/02 |
| 分类 | 测量;测试; |
| 申请人名称 | 上海格瑞特科技实业股份有限公司 |
| 申请人地址 | 上海市浦东新区浦东大道1525号中国石化大厦裙房5楼 |
专利法律状态
2019-03-19
授权
状态信息
授权
摘要
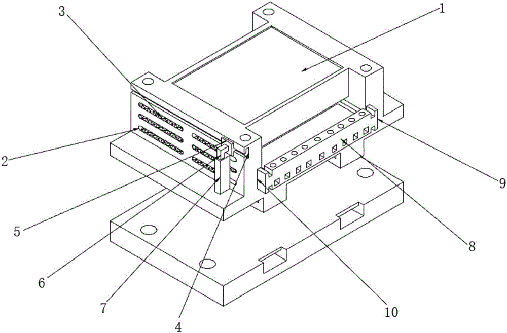
本实用新型公开了一种AHU控制装置,包括控制装置本体、通风槽、过滤网、第一滑槽、第一滑块、连接杆、毛刷、接线板、第二滑块、第二滑槽、固定板、固定孔、卡槽、卡块、弹簧、滚珠和定位孔,所述控制装置本体两侧均开设有通风槽,本实用新型结构科学合理,使用安全方便,通风槽有效的对控制装置本体内部进行通风,对控制装置本体内部进行散热,在外界空气与控制装置本体内部空气进行交换时过滤网有效的对空气中的灰尘杂质进行过滤,防止灰尘进入控制装置本体内部对控制装置本体内部的电器元件造成损坏,通过滑动第一滑块使毛刷进行移动,从而对过滤网表面附着的灰尘进行清理,防止灰尘堵塞过滤网,进而影响通风效果。


