授权公布号:CN220579368U
水汽供应装置及镀膜系统
有效
申请
2023-08-24
申请公布
1970-01-01
授权
2024-03-12
预估到期
2033-08-24
| 申请号 | CN202322289725.4 |
| 申请日 | 2023-08-24 |
| 授权公布号 | CN220579368U |
| 授权公告日 | 2024-03-12 |
| 分类号 | C23C14/24 |
| 分类 | 对金属材料的镀覆;用金属材料对材料的镀覆;表面化学处理;金属材料的扩散处理;真空蒸发法、溅射法、离子注入法或化学气相沉积法的一般镀覆;金属材料腐蚀或积垢的一般抑制〔2〕; |
| 申请人名称 | 隆基绿能科技股份有限公司 |
| 申请人地址 | 陕西省西安市长安区航天中路388号 |
专利法律状态
2024-03-12
授权
状态信息
授权
摘要
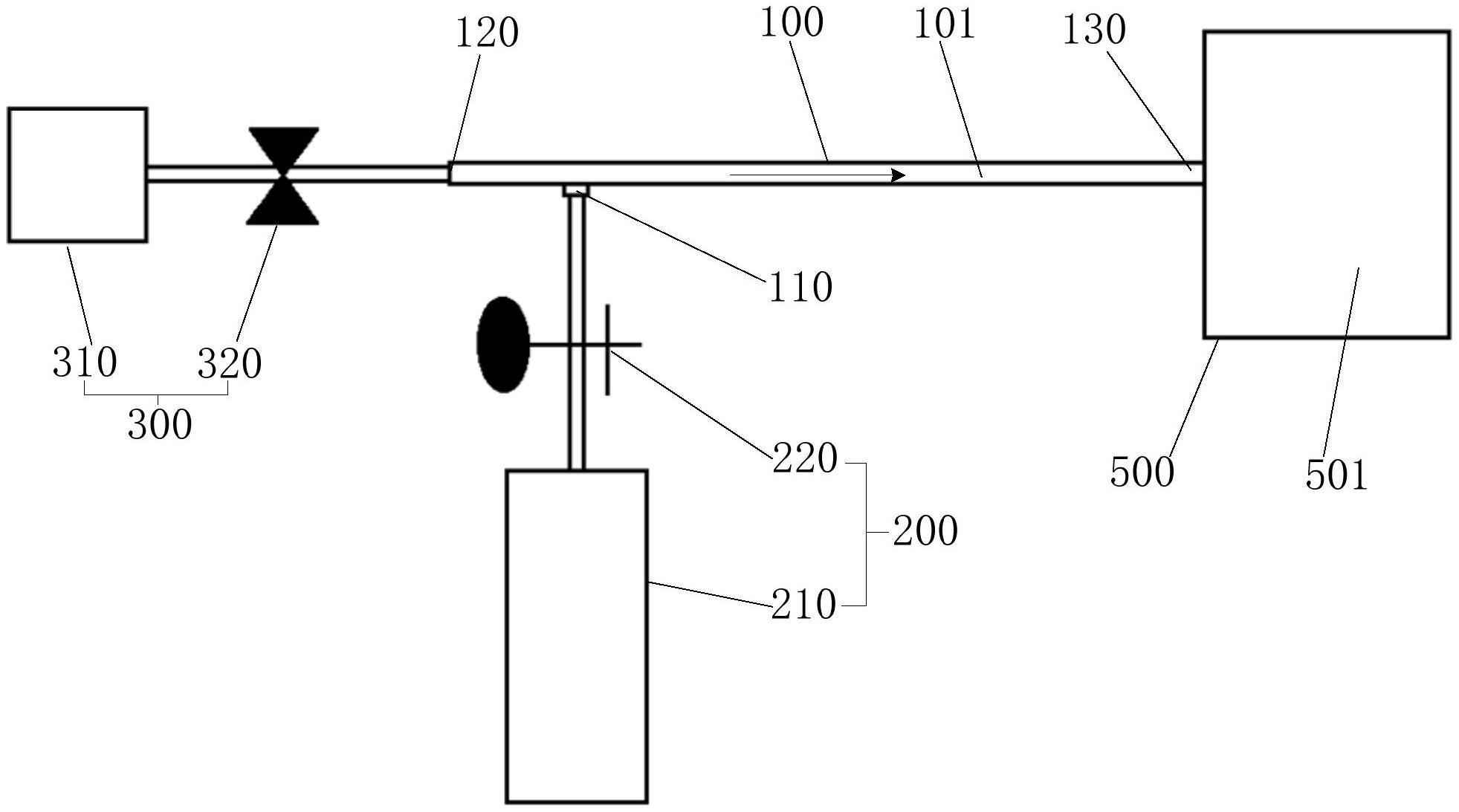
本申请公开了一种水汽供应装置及镀膜系统,水汽供应装置包括:输送管路、第一供气组件和第二供气组件;输送管路包括第一输入端、第二输入端和输出端,输出端适于与镀膜设备连通;第一供气组件与第一输入端连通,用于向输送管路中通入水蒸气;第二供气组件与第二输入端连通,用于向输送管路中通入工艺气体。通过第一供气组件向管路中通入水蒸气,第二供气组件向输送管路中通入工艺气体,水蒸气进入输送管路内,会被工艺气体携载着进入镀膜腔内,利用工艺气体可以起到对水蒸气的稀释作用,从而确保镀膜腔内的水蒸气含量相对均匀。同时,在工艺气体的冲刷作用下,可以减少输送管路内水蒸气的凝结,能够提升水蒸气供应的精准控制。


