授权公布号:CN115411065B
一种太阳能电池及其制备方法
有效
申请
2022-09-29
申请公布
2022-11-29
授权
2024-02-13
预估到期
2042-09-29
| 申请号 | CN202211200411.6 |
| 申请日 | 2022-09-29 |
| 申请公布号 | CN115411065A |
| 申请公布日 | 2022-11-29 |
| 授权公布号 | CN115411065B |
| 授权公告日 | 2024-02-13 |
| 分类号 | H10K39/15;H01L31/0236;H01L31/0747;H01L31/20;H10K30/50 |
| 分类 | 基本电气元件; |
| 申请人名称 | 隆基绿能科技股份有限公司 |
| 申请人地址 | 陕西省西安市长安区航天中路388号 |
专利法律状态
2024-02-13
授权
状态信息
授权
2022-12-16
实质审查的生效
状态信息
实质审查的生效;IPC(主分类):H01L27/30;申请日:20220929
2022-11-29
公布
状态信息
公布
摘要
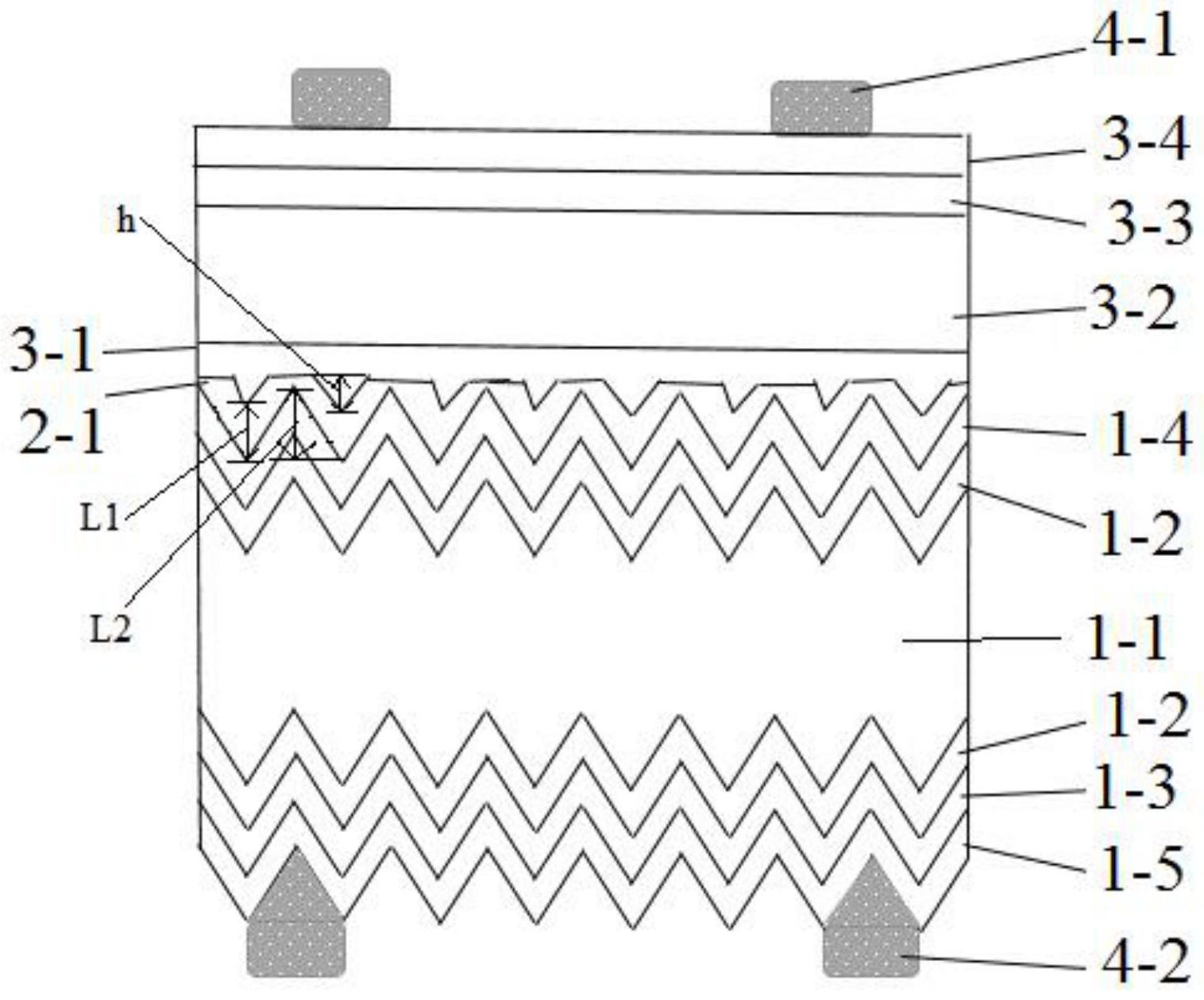
本申请公开了一种太阳能电池,包括下电池和上电池,在所述下电池与所述上电池之间设置有复合层,所述复合层完全覆盖所述下电池的一侧表面;所述下电池在靠近所述复合层的一侧表面具有绒面结构,所述绒面结构的高度为≤2μm;所述复合层背离所述下电池的一侧表面,其至少在所述下电池绒面结构顶部正上方的位置为光滑的平面。本申请还提供一种太阳能电池的制备方法。本申请提出的太阳能电池,由于下电池具有小绒面陷光结构,并且中间复合层具有光滑的平面,使得制备上电池的钙钛矿吸收层更为简单,并且还可以很好的控制钙钛矿吸收层中的晶体的生长,从而提高太阳能电池的性能。


