授权公布号:CN220220997U
一种电池抬升机构
有效
申请
2023-07-10
申请公布
1970-01-01
授权
2023-12-22
预估到期
2033-07-10
| 申请号 | CN202321801409.4 |
| 申请日 | 2023-07-10 |
| 授权公布号 | CN220220997U |
| 授权公告日 | 2023-12-22 |
| 分类号 | B62J43/23;B62J43/13 |
| 分类 | 无轨陆用车辆; |
| 申请人名称 | 星恒电源股份有限公司 |
| 申请人地址 | 江苏省苏州市高新区科技城金沙江路181号 |
专利法律状态
2023-12-22
授权
状态信息
授权
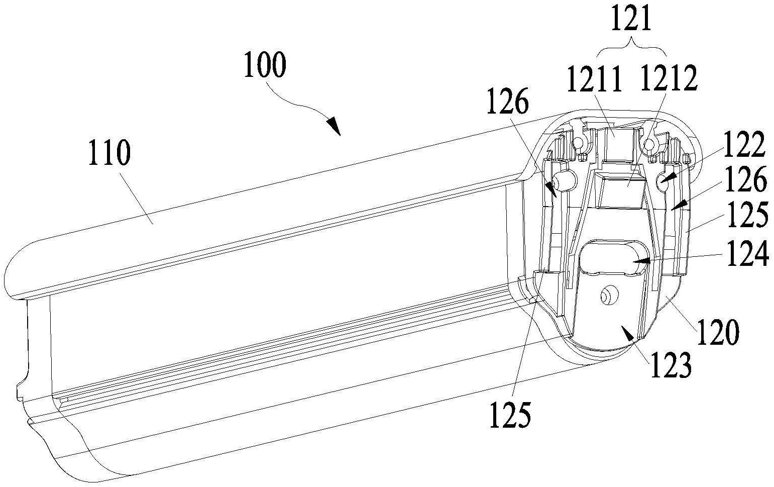
摘要
本实用新型提供一种电池抬升机构,包括:电池组件,电池放置于电池组件内部,电池组件一端设有电池端盖,电池端盖上设有锁孔及至少一个顶出部,顶出部的下表面凸出电池端盖;抬升组件,抬升组件连接于固定面,其包括与锁孔配合的机械锁以及滑动连接于机械锁的滑动板,滑动板上设有至少一个顶推块,顶推块与顶出部配合以抬升电池组件。本实用新型的电池抬升机构,通过设置于固定面上的抬升组件对装有电池的电池组件进行顶推抬升,其能够在不改装车体的前提下通过顶推块与顶出部的配合实现对电池的顶推,使用时操作人员仅需调整机械锁即可实现顶推过程,相比于现有抬升结构,本机构兼具体积小巧、安装简单、适用范围广且使用灵活性强等优势。


