授权公布号:CN214036426U
一种用于与墙体相连接的卡扣式扣件装置
有效
申请
2020-12-29
申请公布
1970-01-01
授权
2021-08-24
预估到期
2030-12-29
| 申请号 | CN202023257184.X |
| 申请日 | 2020-12-29 |
| 授权公布号 | CN214036426U |
| 授权公告日 | 2021-08-24 |
| 分类号 | F16B13/06 |
| 分类 | 工程元件或部件;为产生和保持机器或设备的有效运行的一般措施;一般绝热; |
| 申请人名称 | 青岛有住信息技术有限公司 |
| 申请人地址 | 山东省青岛市胶州市经济技术开发区汾河路6号 |
专利法律状态
2021-08-24
授权
状态信息
授权
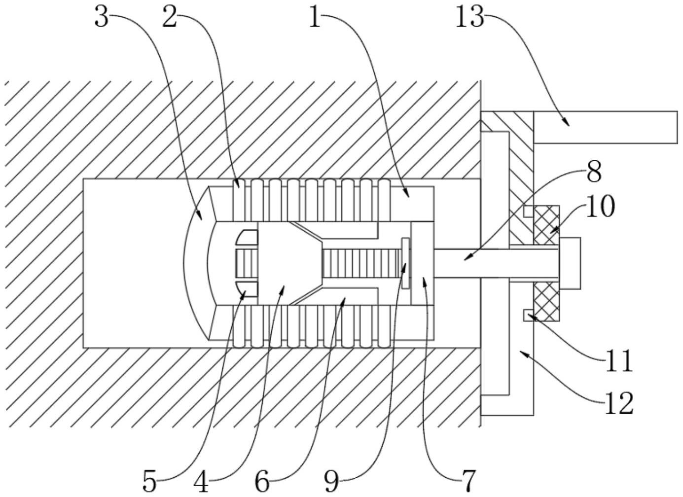
摘要
本实用新型公开了一种用于与墙体相连接的卡扣式扣件装置,包括固定插件,所述固定插件呈管状结构,所述固定插件的表面固定连接有防滑凸起,所述固定插件的左端开设有矩形开口槽,所述固定插件的左端固定连接有连接带,所述固定插件的内壁滑动连接有膨胀块,所述膨胀块的侧面固定连接有拆卸顶板,所述固定插件的内壁分别固定连接有楔形块和安装板。该用于与墙体相连接的卡扣式扣件装置,通过设置固定插件、锁紧螺栓、矩形垫片、限位块和卡接板,壁柜与安装承重板先安装好,然后将卡接板卡接在锁紧螺栓上,旋转锁紧螺栓,锁紧螺栓向墙体内缩进,使壁柜与墙体紧贴,限位块将卡接板卡死,避免松动,从而实现安装方便的效果。


