授权公布号:CN216601841U
一种易穿脱鞋
有效
申请
2021-12-03
申请公布
1970-01-01
授权
2022-05-27
预估到期
2031-12-03
| 申请号 | CN202123043984.6 |
| 申请日 | 2021-12-03 |
| 授权公布号 | CN216601841U |
| 授权公告日 | 2022-05-27 |
| 分类号 | A43B11/00;A43B23/02;A43B23/26 |
| 分类 | 鞋类; |
| 申请人名称 | 华尔科技集团股份有限公司 |
| 申请人地址 | 浙江省嘉兴市海宁市海宁经济开发区石泾路48号 |
专利法律状态
2022-05-27
授权
状态信息
授权
摘要
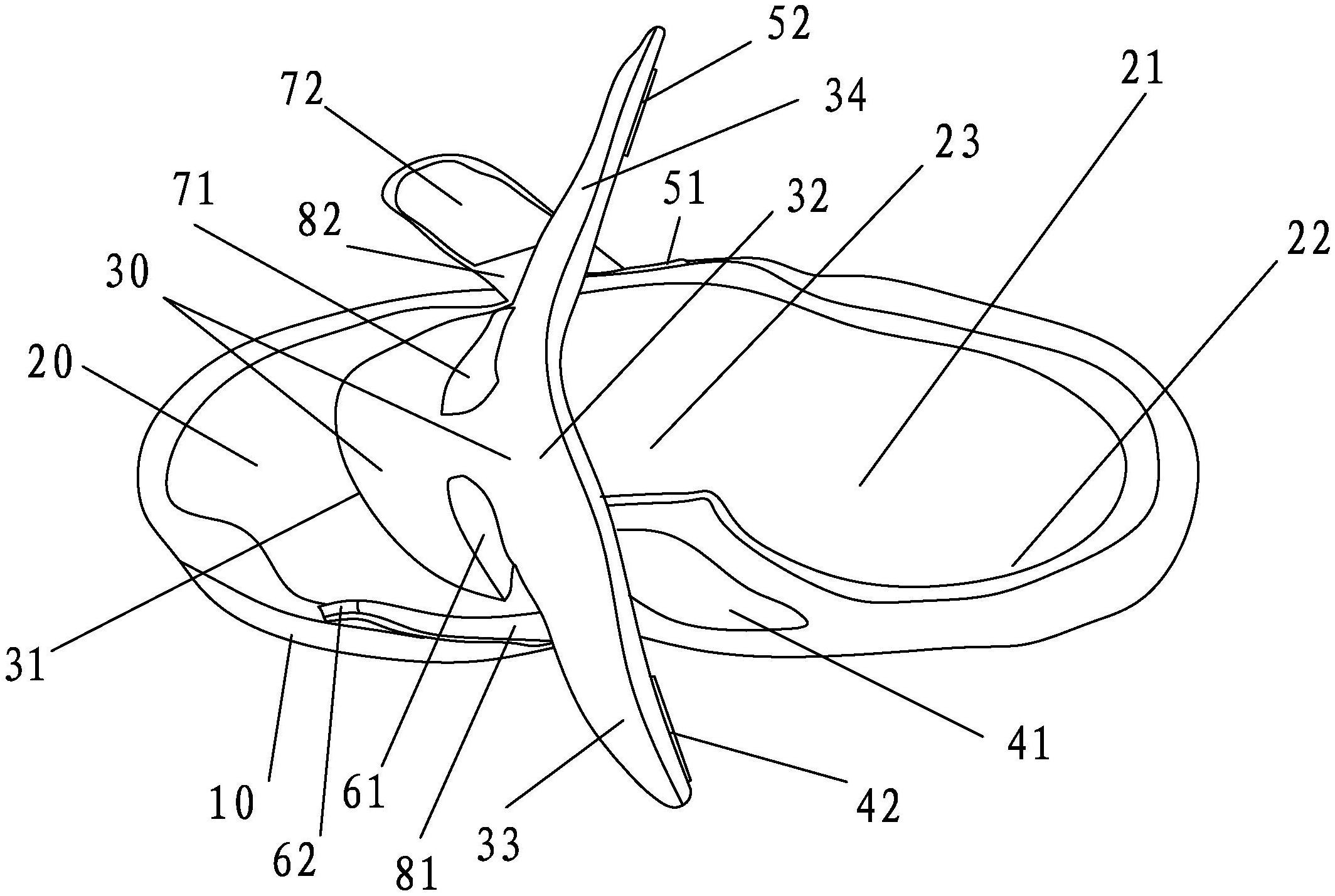
本实用新型涉及一种易穿脱鞋,包括鞋底和固定在鞋底上的鞋面,在鞋面上设有鞋口,鞋口的前端设有鞋舌口,鞋面上对应鞋舌口设有鞋舌,鞋舌的一端为连接在鞋面上的连接端,另一端为可活动的自由端,鞋面的左侧设有第一魔术贴的子贴,鞋面的右侧设有第二魔术贴的子贴,自由端上对应设有第一魔术贴的母贴,自由端上对应设有第二魔术贴的母贴,在鞋面的左侧设有第一连接条,第一连接条上设有第三魔术贴的母贴,在鞋面的右侧设有第二连接条,第二连接条上设有第四魔术贴的母贴,在鞋舌的外表面对应设有第三魔术贴的子贴,在鞋舌的外表面对应设有第四魔术贴的子贴。本实用新型具有结构稳定、穿脱方便、穿着舒适的优点。


