授权公布号:CN205278441U
无填料微泄漏球阀
有效
申请
2016-01-14
申请公布
1970-01-01
授权
2016-06-01
预估到期
2026-01-14
| 申请号 | CN201620035193.9 |
| 申请日 | 2016-01-14 |
| 授权公布号 | CN205278441U |
| 授权公告日 | 2016-06-01 |
| 分类号 | F16K5/06;F16K5/08;F16K5/22;F16K41/04 |
| 分类 | 工程元件或部件;为产生和保持机器或设备的有效运行的一般措施;一般绝热; |
| 申请人名称 | 山东益都阀门集团股份有限公司 |
| 申请人地址 | 山东省潍坊市青州市香山路7号 |
专利法律状态
2016-06-01
授权
状态信息
授权
摘要
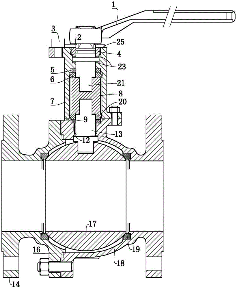
本实用新型公开了一种无填料微泄漏球阀,主阀体和侧阀体固定连接在一起,所述主阀体和侧阀体内设有阀球,所述主阀体上固定连接有填料筒,所述填料筒的口部固定连接有压盖,所述填料筒内设有操纵杆、连接套和阀杆,所述操纵杆伸出所述填料筒,所述阀杆与阀球插接,所述连接套的上下两端分别与所述操纵杆和所述阀杆插接,所述连接套的上端面与所述填料筒之间夹持有上密封环,所述连接套的下端面与所述主阀体之间夹持有下密封环,所述上密封环和下密封环均卡接于所述填料筒内。本实用新型提高了阀门的密封性能,并延长了阀门的使用寿命。


