授权公布号:CN205026112U
船用截止阀
有效
申请
2015-09-30
申请公布
1970-01-01
授权
2016-02-10
预估到期
2025-09-30
| 申请号 | CN201520772347.8 |
| 申请日 | 2015-09-30 |
| 授权公布号 | CN205026112U |
| 授权公告日 | 2016-02-10 |
| 分类号 | F16K1/02;F16K1/32;F16K1/48 |
| 分类 | 工程元件或部件;为产生和保持机器或设备的有效运行的一般措施;一般绝热; |
| 申请人名称 | 山东益都阀门集团股份有限公司 |
| 申请人地址 | 山东省潍坊市青州市香山路7号 |
专利法律状态
2016-02-10
授权
状态信息
授权
摘要
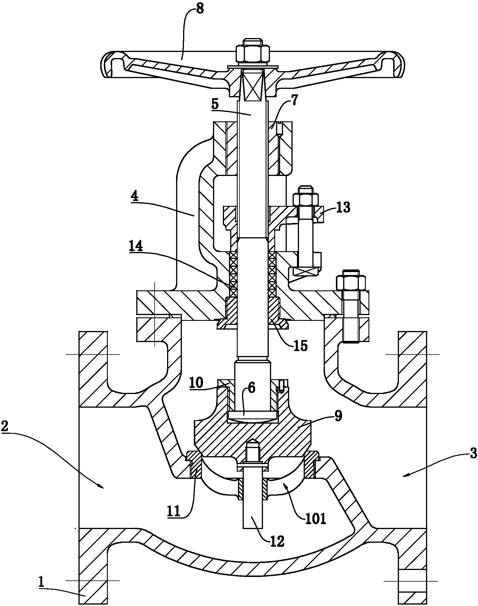
本实用新型公开了一种船用截止阀,该截止阀的阀杆底端的头部设有环状凸台,所述环状凸台的底端面为球面,所述阀瓣的顶端设有沉孔,所述环状凸台置于所述沉孔内,所述阀瓣上方固定设有套装于所述阀杆底端的头部上的压盖,所述压盖的内孔与所述阀杆底端的头部之间以及所述环状凸台与所述沉孔之间设有活动间隙,该船用截止阀的阀瓣能与水流通道口自动对正,提高了该截止阀的密封性能。


