授权公布号:CN205534341U
耐磨球阀
有效
申请
2016-04-19
申请公布
1970-01-01
授权
2016-08-31
预估到期
2026-04-19
| 申请号 | CN201620328302.6 |
| 申请日 | 2016-04-19 |
| 授权公布号 | CN205534341U |
| 授权公告日 | 2016-08-31 |
| 分类号 | F16K5/06;F16K5/20 |
| 分类 | 工程元件或部件;为产生和保持机器或设备的有效运行的一般措施;一般绝热; |
| 申请人名称 | 山东益都阀门集团股份有限公司 |
| 申请人地址 | 山东省潍坊市青州市香山路7号 |
专利法律状态
2016-08-31
授权
状态信息
授权
摘要
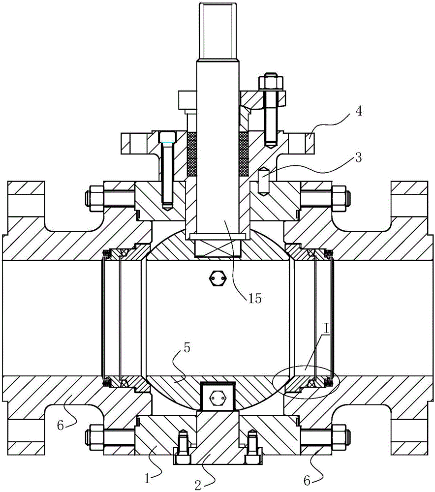
本实用新型公开了一种耐磨球阀,包括阀体组合,所述阀体组合包括中阀体,所述中阀体两侧分别固定安装有侧阀体;阀杆一端伸入所述阀体组合内并连接阀球,所述阀杆的另一端为驱动端;所述侧阀体上浮动安装有阀座,所述阀座和所述阀球分别设有相互适配的密封面。本实用新型能够解决阀球因热膨胀出现“抱死”的问题,且具有良好的密封性能。


