授权公布号:CN205064885U
微泄漏闸阀
有效
申请
2015-10-31
申请公布
1970-01-01
授权
2016-03-02
预估到期
2025-10-31
| 申请号 | CN201520862077.X |
| 申请日 | 2015-10-31 |
| 授权公布号 | CN205064885U |
| 授权公告日 | 2016-03-02 |
| 分类号 | F16K3/02;F16K3/316;F16K41/02 |
| 分类 | 工程元件或部件;为产生和保持机器或设备的有效运行的一般措施;一般绝热; |
| 申请人名称 | 山东益都阀门集团股份有限公司 |
| 申请人地址 | 山东省潍坊市青州市香山路7号 |
专利法律状态
2016-03-02
授权
状态信息
授权
摘要
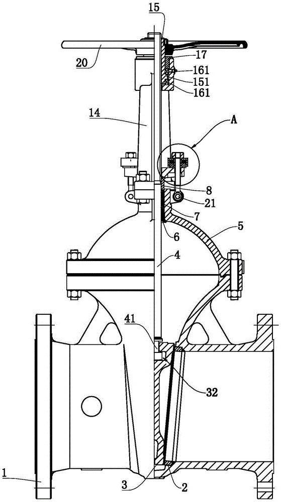
本实用新型公开了一种微泄漏闸阀,包括固定安装在一起的阀体和阀盖,所述阀体两侧设有管道连通口,所述阀体内部设有阀座,所述阀盖上固定安装有支架;阀杆的一端设有螺杆部,所述阀杆的另一端贯穿所述阀盖、伸入所述阀体内部且安装有闸板,所述阀杆与阀盖之间设有填料密封装置,所述阀杆上套设有填料压板,所述填料压板与所述阀盖之间设有填料压紧机构;所述填料压紧机构包括活节螺栓,所述活节螺栓通过销轴铰接于所述阀盖上,所述活节螺栓贯穿所述填料压板并旋套有调节螺母,所述调节螺母与所述填料压板之间夹压有蝶形弹簧。本实用新型具有良好的密封性能。


