授权公布号:CN205423854U
微泄漏蝶阀
有效
申请
2016-03-15
申请公布
1970-01-01
授权
2016-08-03
预估到期
2026-03-15
| 申请号 | CN201620197969.7 |
| 申请日 | 2016-03-15 |
| 授权公布号 | CN205423854U |
| 授权公告日 | 2016-08-03 |
| 分类号 | F16K1/22;F16K1/226 |
| 分类 | 工程元件或部件;为产生和保持机器或设备的有效运行的一般措施;一般绝热; |
| 申请人名称 | 山东益都阀门集团股份有限公司 |
| 申请人地址 | 山东省潍坊市青州市香山路7号 |
专利法律状态
2016-08-03
授权
状态信息
授权
摘要
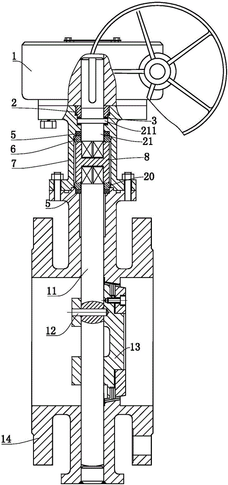
本文公开了一种微泄漏蝶阀,包括阀体,所述阀体上固定连接有密封件安装筒,所述密封件安装筒的口部固定连接有压盖;所述密封件安装筒内设有操纵杆、连接套和阀杆,所述操纵杆伸出所述密封件安装筒,所述阀杆与阀体内的蝶板固定连接,所述连接套的上、下两端分别与所述操纵杆和所述阀杆插接,所述连接套的上端面与所述密封件安装筒之间夹持有上密封环,所述连接套的下端面与所述阀体之间夹持有下密封环,所述上密封环和所述下密封环均卡接于所述密封件安装筒内。本实用新型密封效果好,使用寿命长。


