授权公布号:CN214887447U
一种管网监测发电装置
有效
申请
2021-04-08
申请公布
1970-01-01
授权
2021-11-26
预估到期
2031-04-08
| 申请号 | CN202120717864.0 |
| 申请日 | 2021-04-08 |
| 授权公布号 | CN214887447U |
| 授权公告日 | 2021-11-26 |
| 分类号 | F03B13/00;F03B11/00;F03B11/02 |
| 分类 | 液力机械或液力发动机;风力、弹力或重力发动机;不包含在其他类目中的产生机械动力或反推力的发动机; |
| 申请人名称 | 株洲南方阀门股份有限公司 |
| 申请人地址 | 湖南省株洲市天元区黄河南路215号 |
专利法律状态
2021-11-26
授权
状态信息
授权
摘要
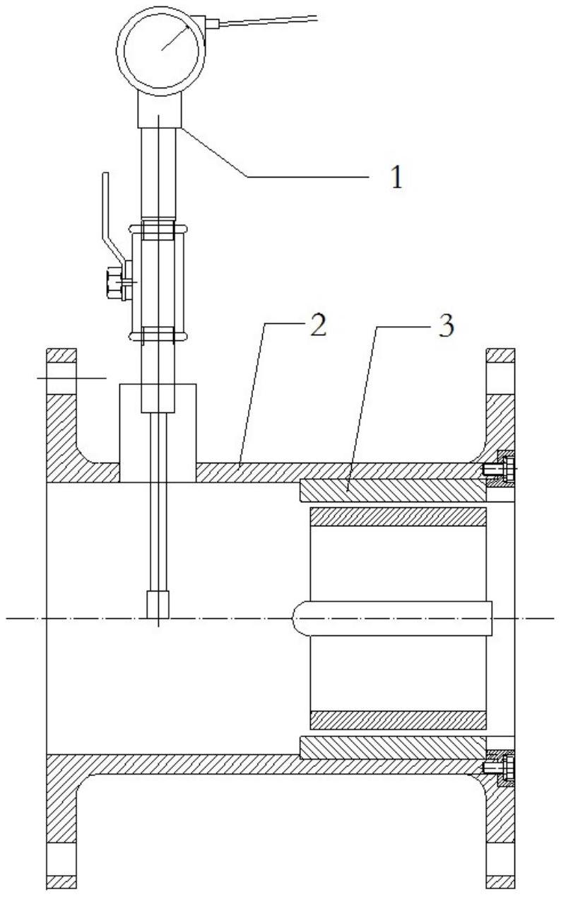
本实用新型公开了一种管网监测发电装置,包括阀体,发电装置和监测装置,所述发电装置安装在阀体内,所述监测装置安装在发电装置前方的阀体上,所述发电装置为监测装置供电;所述发电装置包括定子、永磁转子和叶片,所述永磁转子成环状与叶片固定,所述永磁转子中心处设有转子轴,所述叶片设置在转子轴上,所述定子设置在永磁转子外侧,所述定子包括壳体与集成在壳体内的线圈。本实用新型在管网内设置发电装置,利用管网内水流的动能进行发电,对流量计或其他用电设施进行供电,发电功率稳定,不受外界环境影响。


