授权公布号:CN217504879U
一种自发电智能水表
有效
申请
2021-12-30
申请公布
1970-01-01
授权
2022-09-27
预估到期
2031-12-30
| 申请号 | CN202123433208.7 |
| 申请日 | 2021-12-30 |
| 授权公布号 | CN217504879U |
| 授权公告日 | 2022-09-27 |
| 分类号 | G01F1/667;F03B13/00 |
| 分类 | 测量;测试; |
| 申请人名称 | 株洲南方阀门股份有限公司 |
| 申请人地址 | 湖南省株洲市天元区黄河南路215号 |
专利法律状态
2022-09-27
授权
状态信息
授权
摘要
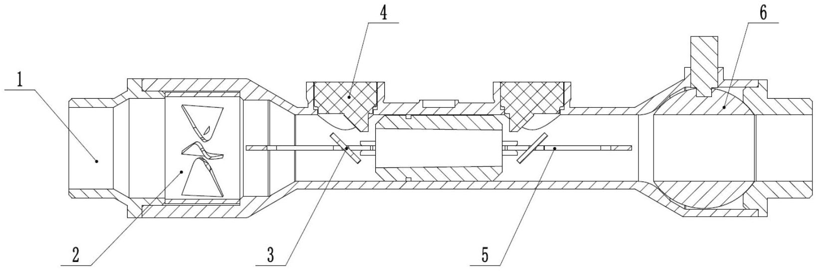
本实用新型公开了一种自发电智能水表,包括阀门设备、感知设备和控制终端,所述感知设备与控制终端相连;所述阀门设备包括管道,所述管道上装有水表,所述管道两端分别安装有无轴发电机和球阀,所述无轴发电机和球阀之间设有超声波反射片,所述管道上安装有与超声波反射片配合的超声波换能器,所述无轴发电机为水表、球阀、超声波反射片和超声波换能器供电;所述控制终端包括处理模块、存储模块、采集模块、通讯模块,所述感知设备和超声波换能器与采集模块相连。本实用新型通过无轴发电机利用管网内水流的动能进行发电,可以将阀门设备和感知设备采集的信息传至控制终端,对用水数据进行处理,通过控制终端可以远程联动球阀实现水流的关断。


