授权公布号:CN206695364U
一种不结水垢的厨宝
有效
申请
2017-04-07
申请公布
1970-01-01
授权
2017-12-01
预估到期
2027-04-07
| 申请号 | CN201720359413.8 |
| 申请日 | 2017-04-07 |
| 授权公布号 | CN206695364U |
| 授权公告日 | 2017-12-01 |
| 分类号 | F24H1/00;F24H9/00;F24H9/18;F24H9/20 |
| 分类 | 供热;炉灶;通风; |
| 申请人名称 | 厦门帅科卫浴电器有限公司 |
| 申请人地址 | 山东省青岛市中国(山东)自由贸易试验区青岛片区太白山路172号青岛中德生态园双创中心501室 |
专利法律状态
2023-07-28
专利申请权、专利权的转移
状态信息
专利权的转移;IPC(主分类):F24H1/00;专利号:ZL2017203594138;登记生效日:20230718;变更事项:专利权人;变更前权利人:厦门帅科卫浴电器有限公司;变更后权利人:青岛海尔有养科技有限公司;变更事项:地址;变更前权利人:361000 福建省厦门市海沧区新阳街道新光路8号1号厂房三层;变更后权利人:266599 山东省青岛市中国(山东)自由贸易试验区青岛片区太白山路172号青岛中德生态园双创中心501室
2018-10-09
专利申请权、专利权的转移
状态信息
专利权的转移;IPC(主分类):F24H1/00;登记生效日:20180917;变更事项:专利权人;变更前:厦门中家院生态科技有限公司;变更后:厦门帅科卫浴电器有限公司;变更事项:地址;变更前:361000 福建省厦门市海沧区新阳街道新光路8号1号厂房4楼;变更后:361000 福建省厦门市海沧区新阳街道新光路8号1号厂房三层
2017-12-01
授权
状态信息
授权
摘要
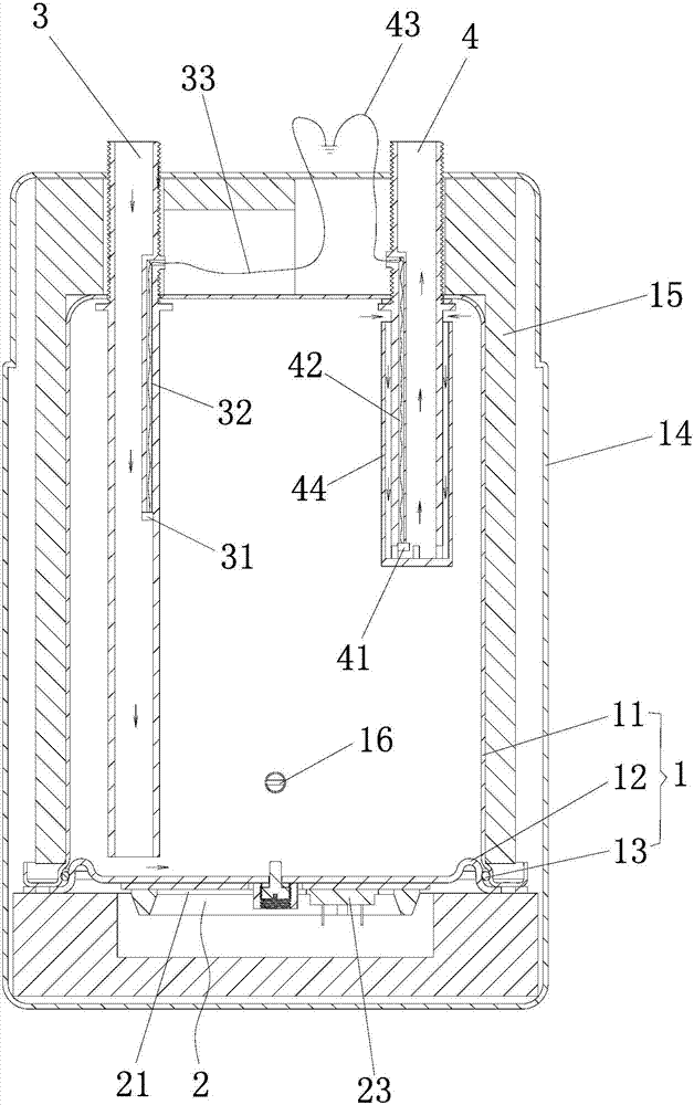
本实用新型公开一种不结水垢的厨宝,包括内胆、电加热器、进水管和出水管,进水管和出水管为绝缘管道,进水管穿入内胆其下端连通内胆内腔下部,出水管穿入内胆其下端连通内胆内腔中部;电加热器贴附于内胆下表面,电加热器给进入内胆里的水加热。优选所述电加热器包括一个散热板,散热板贴附在内胆下表面,散热板的下表面固连有电加热管;所述散热板的下表面还固连有超温保护器,当内胆缺水干烧时超温保护器切断电加热管的电源。本实用新型电加热部分不会结水垢,确保加热性能,有利于延长厨宝的使用寿命,提高使用安全性。


