授权公布号:CN207299503U
一种接力加热式的水加热器
有效
申请
2017-08-30
申请公布
1970-01-01
授权
2018-05-01
预估到期
2027-08-30
| 申请号 | CN201721098569.1 |
| 申请日 | 2017-08-30 |
| 授权公布号 | CN207299503U |
| 授权公告日 | 2018-05-01 |
| 分类号 | F24H1/20;F24H9/00;F24H9/18;F24H9/20 |
| 分类 | 供热;炉灶;通风; |
| 申请人名称 | 厦门帅科卫浴电器有限公司 |
| 申请人地址 | 福建省厦门市海沧区新阳街道新光路8号1号厂房4楼 |
专利法律状态
2018-10-09
专利申请权、专利权的转移
状态信息
专利权的转移IPC(主分类):F24H 1/20登记生效日:20180913变更前 专利权人:厦门中家院生态科技有限公司 地址:361000 福建省厦门市海沧区新阳街道新光路8号1号厂房4楼变更后 专利权人:厦门帅科卫浴电器有限公司 地址:361000 福建省厦门市海沧区新阳街道新光路8号1号厂房三层
2018-05-01
授权
状态信息
授权
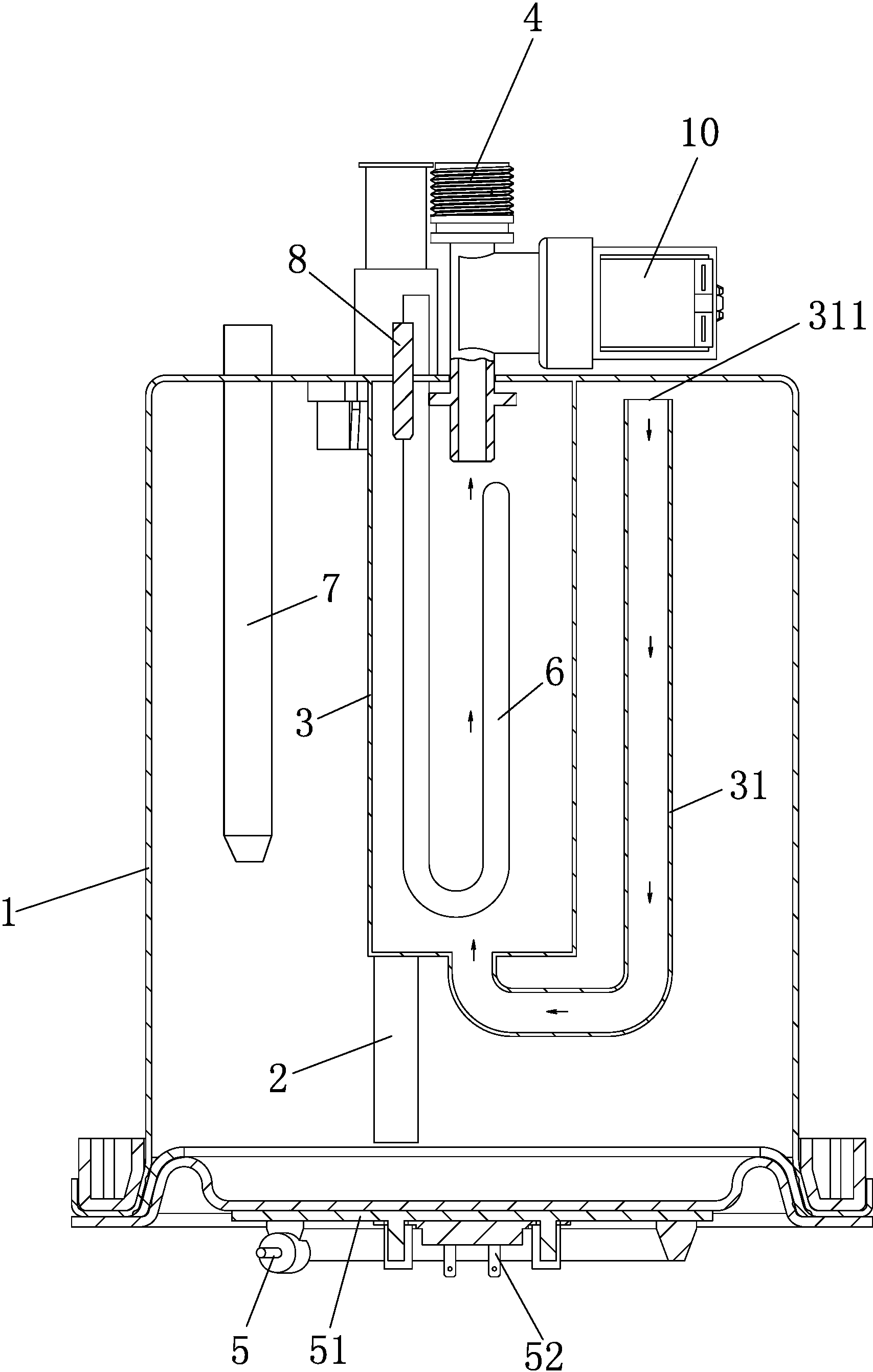
摘要
本实用新型公开一种接力加热式的水加热器,包括主内胆、控制器、辅助内胆,主内胆上装有进水管,进水管下部的出水口连通主内胆的内下部,辅助内胆上装有开水出水管,开水出水管的入水口连通辅助内胆的内部,辅助内胆的内部通过连通水管连通主内胆的内部,连通水管的入水口处于主内胆的内上部;主内胆内或主内胆外底部装有第一电加热管,辅助内胆内装有第二电加热管,控制器控制第一电加热管把主内胆里的水温加热至设定温度,该设定温度≤90℃,开水出水管出水的同时控制器接通第二电加热管的电源进行加热,开水出水管停止出水时,控制器切断第二电加热管的电源停止加热。本实用新型能快速提供热水,并使封闭式内胆工作时受压较低,安全性较高。


