授权公布号:CN220241970U
智能分布式控制高精度模块式混凝土搅拌站
有效
申请
2023-08-15
申请公布
1970-01-01
授权
2023-12-26
预估到期
2033-08-15
| 申请号 | CN202322185875.0 |
| 申请日 | 2023-08-15 |
| 授权公布号 | CN220241970U |
| 授权公告日 | 2023-12-26 |
| 分类号 | B28C9/02;B28C7/04;B28C7/06;B28C7/10;B28C7/12;B28C7/00 |
| 分类 | 加工水泥、黏土或石料; |
| 申请人名称 | 山推建友机械股份有限公司 |
| 申请人地址 | 山东省济南市市中区段店南路268号 |
专利法律状态
2023-12-26
授权
状态信息
授权
摘要
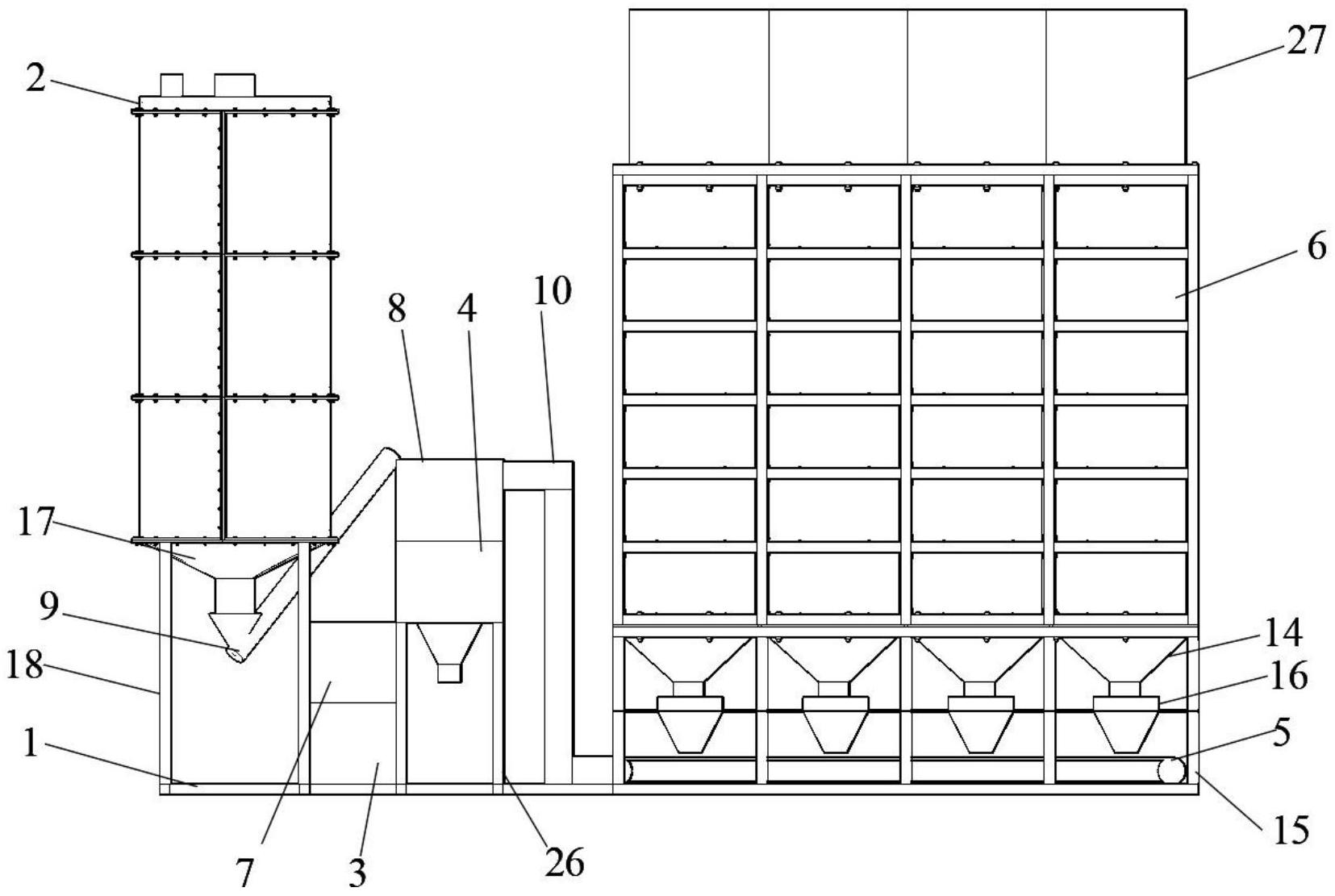
本实用新型属于混凝土搅拌站技术领域,尤其涉及智能分布式控制高精度模块式混凝土搅拌站。包括免基础底座,所述免基础底座上栓接有粉料罐、空压机模块、搅拌模块、平皮带机、立体骨料仓,空压机模块、搅拌模块上分别栓接有控制模块、计量模块,粉料罐通过螺旋输送机连接计量模块,平皮带机通过提升机连接计量模块,粉料罐的筒体端由若干个弧状单板栓接而成,立体骨料仓包括框架、挂板、出料斗、骨料仓支腿,框架通过骨料仓支腿与免基础底座栓接,挂板挂接在框架上。本实用新型将混凝土搅拌站的各个系统进行分布式模块化设计,方便运输安装,配置齐全,保证了混凝土的质量。


