授权公布号:CN220634126U
一种双卧轴搅拌机传动装置
有效
申请
2023-06-20
申请公布
1970-01-01
授权
2024-03-22
预估到期
2033-06-20
| 申请号 | CN202321575667.5 |
| 申请日 | 2023-06-20 |
| 授权公布号 | CN220634126U |
| 授权公告日 | 2024-03-22 |
| 分类号 | B01F35/30;B01F35/10;B01F35/32;B01F27/60 |
| 分类 | 一般的物理或化学的方法或装置; |
| 申请人名称 | 山推建友机械股份有限公司 |
| 申请人地址 | 山东省济南市市中区段店南路268号 |
专利法律状态
2024-03-22
授权
状态信息
授权
摘要
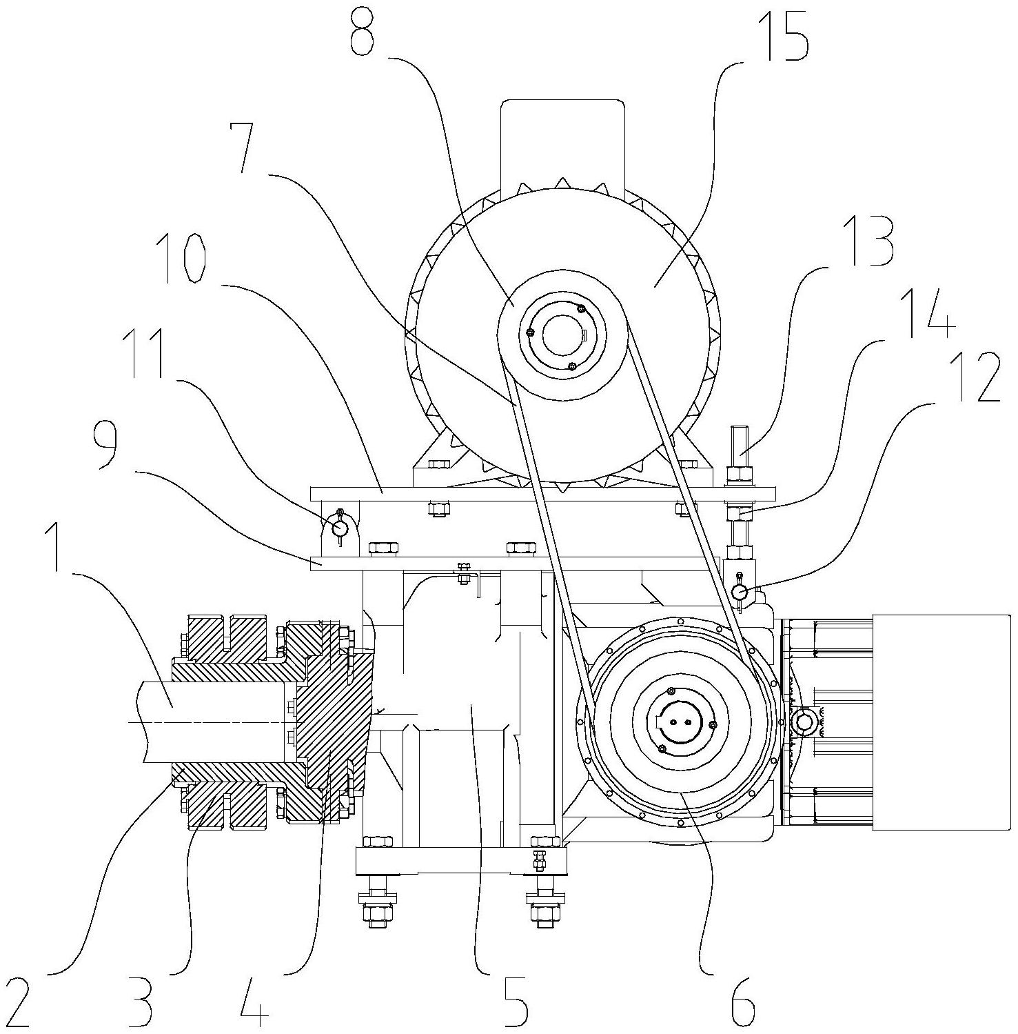
本实用新型属于建筑机械技术领域,涉及一种双卧轴搅拌机传动装置,包括搅拌轴,所述搅拌轴上设置有轴套,轴套安装在搅拌轴端部,轴套外径处设有胀紧套,胀紧套连接有万向轴承,万向轴承设置在减速机上,减速机设置有从动带轮,减速机上部安装有下电机座,下电机座上部安装有上电机座,上电机座和下电机座通过转轴铰接,下电机座通过销轴连接有调节螺杆,调节螺杆上端穿过上电机座通过螺母固定,上电机座上安装有电机,电机上设置有驱动带轮,从动带轮与驱动带轮通过传动带连接。本实用新型传动带张紧结构简单、空间大,可以补偿装配中的不同轴问题,安装方便、维护便利。


