授权公布号:CN212338557U
多级消能装置
有效
申请
2020-04-26
申请公布
1970-01-01
授权
2021-01-12
预估到期
2030-04-26
| 申请号 | CN202020656339.8 |
| 申请日 | 2020-04-26 |
| 授权公布号 | CN212338557U |
| 授权公告日 | 2021-01-12 |
| 分类号 | F16L55/027 |
| 分类 | 工程元件或部件;为产生和保持机器或设备的有效运行的一般措施;一般绝热; |
| 申请人名称 | 株洲南方阀门股份有限公司 |
| 申请人地址 | 湖南省株洲市天元区黄河南路215号 |
专利法律状态
2021-01-12
授权
状态信息
授权
摘要
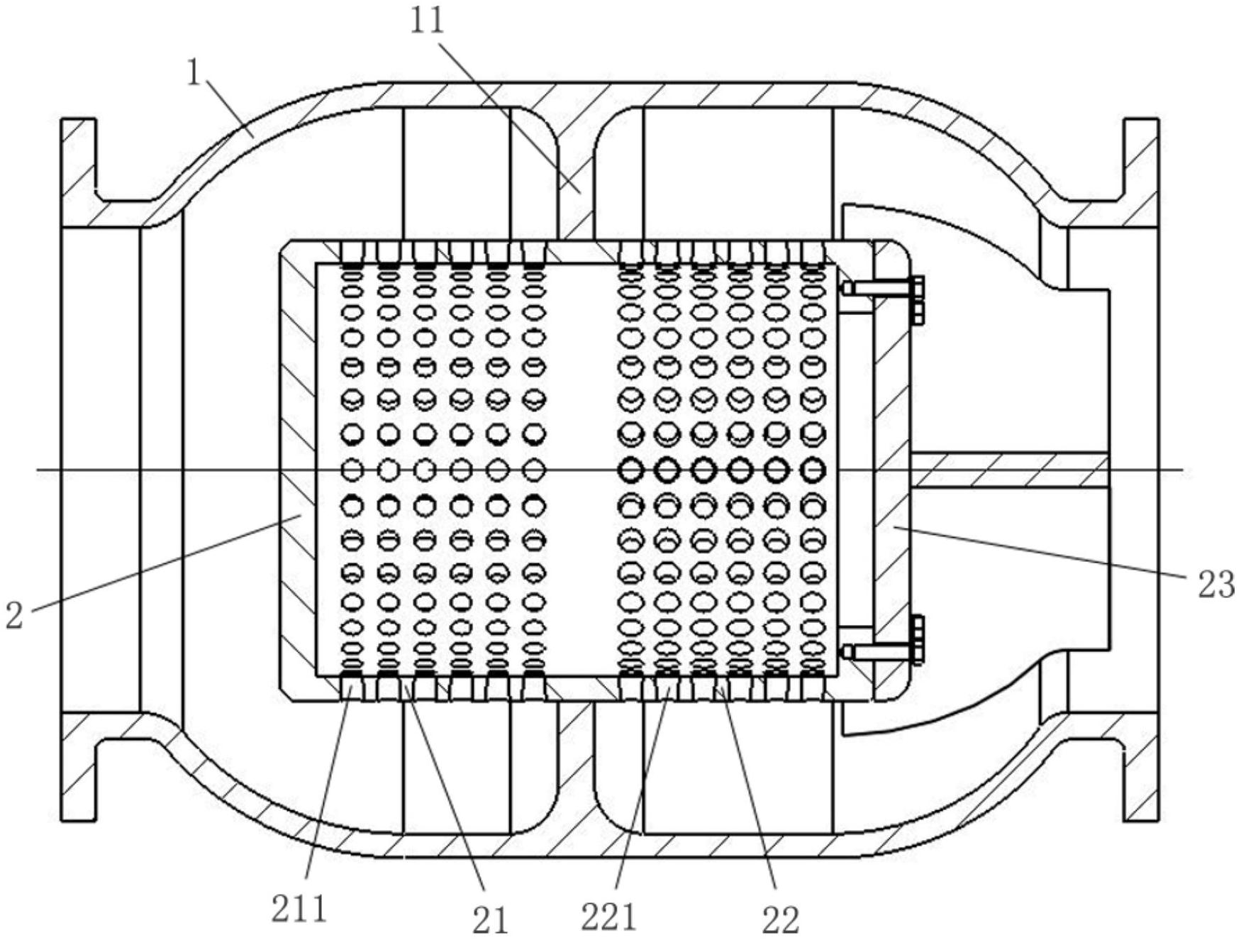
本实用新型涉及流体消能技术领域,公开一种多级消能装置,包括连接阀门入口和管道的外壳,外壳内设有鼠笼式套筒,外壳内壁上延伸出与鼠笼式套筒长度方向外壁垂直相接的至少一块隔板,鼠笼式套筒以隔板为界依次具有进水段和出水段。鼠笼式套筒兼具进水段和出水段,对流体介质进行一进一出多级消能,大大缓解最终进入介质过流管道或阀门等内部的水流冲击;鼠笼式套筒周围的介质流则被各通道节流成多股高速流,沿径向方向向鼠笼式套筒圆周中心高速喷射并与反向喷出的介质流相互撞击,使流体动能转化为压力能,顺利完成流体的消能过程,而介质在撞击过程中气泡的产生和破裂均将处于介质流中,不会对阀门和管道产生任何气蚀破坏。


