授权公布号:CN107861456B
可稳定自发电的多功能减压阀
有效
申请
2017-10-30
申请公布
2018-03-30
授权
2020-03-24
预估到期
2037-10-30
| 申请号 | CN201711035992.1 |
| 申请日 | 2017-10-30 |
| 申请公布号 | CN107861456A |
| 申请公布日 | 2018-03-30 |
| 授权公布号 | CN107861456B |
| 授权公告日 | 2020-03-24 |
| 分类号 | G05B19/05;G05D16/20;G01D21/02 |
| 分类 | 控制;调节; |
| 申请人名称 | 株洲南方阀门股份有限公司 |
| 申请人地址 | 湖南省株洲市天元区黄河南路215号 |
专利法律状态
2021-01-29
专利申请权、专利权的转移
状态信息
专利权的转移;IPC(主分类):G05B 19/05;专利号:ZL2017110359921;登记生效日:20210118;变更事项:专利权人;变更前权利人:株洲南方阀门股份有限公司;变更后权利人:株洲南方阀门股份有限公司;变更事项:地址;变更前权利人:412000 湖南省株洲市天元区黄河南路215号;变更后权利人:412000 湖南省株洲市天元区黄河南路215号;变更事项:专利权人;变更前权利人:;变更后权利人:湘潭珠华大为机械制造有限公司
2020-03-24
授权
状态信息
授权
2018-04-24
实质审查的生效
状态信息
实质审查的生效;IPC(主分类):G05B 19/05;专利申请号:2017110359921;申请日:20171030
2018-03-30
发明专利申请公布
状态信息
公布
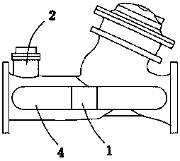
摘要
本发明属于阀门技术领域,公开一种可稳定自发电的多功能减压阀,包括阀体,阀体内设有控制阀体开度的执行器,还包括发电装置、数据采集组件和数据处理装置,发电装置用于为数据采集组件、数据处理和显示终端提供工作电源;数据采集组件设于阀前和/或阀内和/或阀后;数据采集组件实时采集介质参数并传输至数据处理装置,数据处理装置根据其提供的实时参数控制执行器工作;发电装置包括发电组件和电池组件,阀前和阀后侧壁上分别有连接孔,两连接孔通过外接管道连接,发电组件设于外接管道内,电池组件设于外接管道外;外接管道内径与组件外壳外周适配。减压阀有数据采集功能、还可利用流通介质的动能发电,为数据采集组件及执行器提供工作电源。


