授权公布号:CN108488398B
流量可控性强的旋转控制阀
有效
申请
2018-05-23
申请公布
2018-09-04
授权
2020-05-22
预估到期
2038-05-23
| 申请号 | CN201810502820.9 |
| 申请日 | 2018-05-23 |
| 申请公布号 | CN108488398A |
| 申请公布日 | 2018-09-04 |
| 授权公布号 | CN108488398B |
| 授权公告日 | 2020-05-22 |
| 分类号 | F16K1/226;F16K1/36;F16K1/32;F16K27/02;F16K41/02 |
| 分类 | 工程元件或部件;为产生和保持机器或设备的有效运行的一般措施;一般绝热; |
| 申请人名称 | 株洲南方阀门股份有限公司 |
| 申请人地址 | 湖南省株洲市天元区黄河南路215号 |
专利法律状态
2020-05-22
授权
状态信息
授权
2018-09-28
实质审查的生效
状态信息
实质审查的生效IPC(主分类):F16K 1/226
2018-09-04
公布
状态信息
公布
摘要
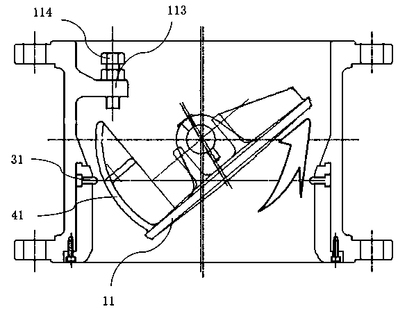
本发明属于阀门技术领域,公开一种流量可控性强的旋转控制阀,包括阀体、阀杆和阀板,阀杆贯穿阀体的顶部和底部并在贯穿位置通过轴承与阀体连接,阀体包括介质入口和介质出口,介质入口端的阀体内安装有与阀板适配的橡胶密封圈,阀板在朝向介质出口的表面上设有弧状凸起,弧状凸起靠近阀板外周设置,弧状凸起的凸起表面可在阀板转动0~70°时与橡胶密封圈接触或与橡胶密封圈形成小于5mm的间隙。通过在阀板上设置弧状凸起,在弧状凸起与橡胶密封圈的接触处或间隙处介质抵抗很大,几乎无法过流,从而实现对介质出口端的流量进行限制,有效提高本旋转控制阀的低开度控制性。


