授权公布号:CN220510353U
一种线端模组及连接器总成
有效
申请
2023-08-29
申请公布
1970-01-01
授权
2024-02-20
预估到期
2033-08-29
| 申请号 | CN202322325064.6 |
| 申请日 | 2023-08-29 |
| 授权公布号 | CN220510353U |
| 授权公告日 | 2024-02-20 |
| 分类号 | H01R13/52;H01R12/75 |
| 分类 | 基本电气元件; |
| 申请人名称 | 广东高标智能科技股份有限公司 |
| 申请人地址 | 广东省东莞市松山湖园区工业西路3号 |
专利法律状态
2024-02-20
授权
状态信息
授权
摘要
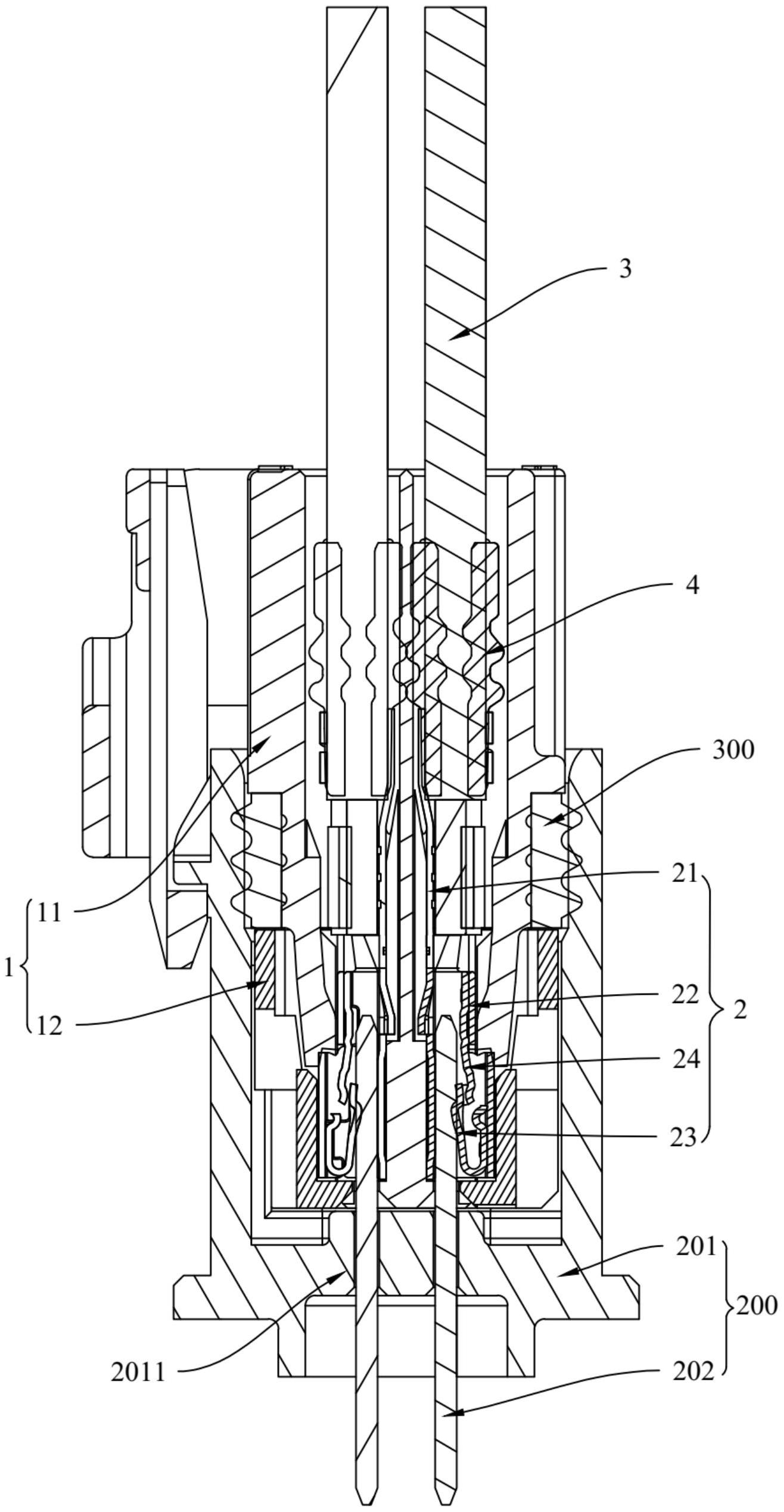
本实用新型涉及连接器技术领域,尤其涉及一种线端模组及连接器总成。所述线端模组包括线端壳体、连接线组件和防水塞,线端壳体上设有若干独立设置的容纳腔;若干连接线组件与容纳腔一一对应设置,每个连接线组件包括母端子以及与母端子固定连接的电线,每个连接线组件的电线上均包裹有防水塞,防水塞与容纳腔过盈配合,以实现电线与线端壳体之间的密封连接,提高线端模组的防水性能。由于防水塞与连接线组件一一对应设置,每个防水塞仅需设置一个供连接线组件的电线穿过的通孔即可,可减小防水塞变形量,且当某个防水塞老化需要替换时,可单独替换老化防水塞,无需替换其他的防水塞,从而能够降低替换难度及耗材成本。


