授权公布号:CN216771207U
气雾剂取样装置
有效
申请
2021-11-24
申请公布
1970-01-01
授权
2022-06-17
预估到期
2031-11-24
| 申请号 | CN202122907453.0 |
| 申请日 | 2021-11-24 |
| 授权公布号 | CN216771207U |
| 授权公告日 | 2022-06-17 |
| 分类号 | G01N1/22 |
| 分类 | 测量;测试; |
| 申请人名称 | 上海上药信谊药厂有限公司 |
| 申请人地址 | 上海市浦东新区(上海)自由贸易试验区新金桥路905号 |
专利法律状态
2022-06-17
授权
状态信息
授权
摘要
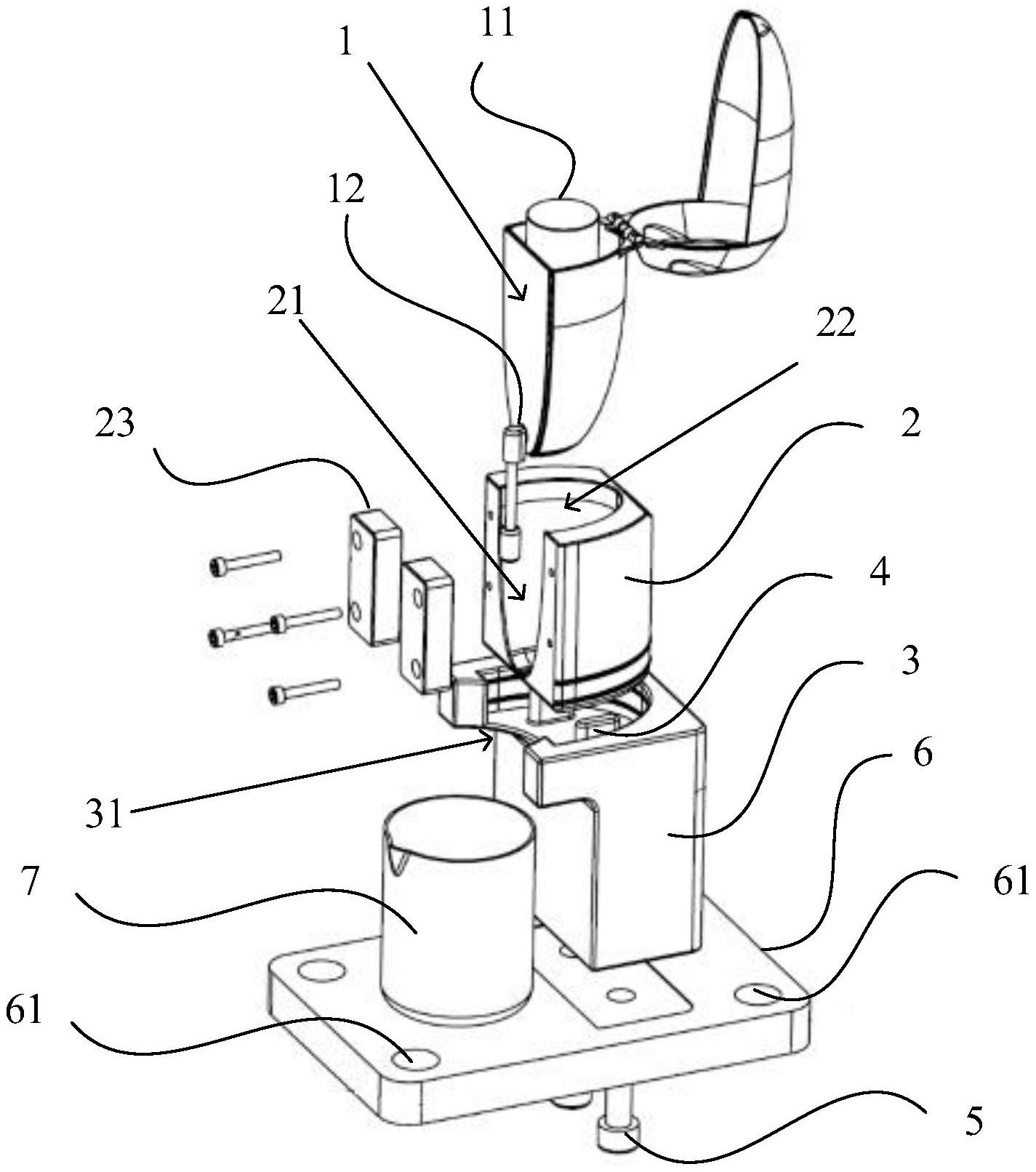
本实用新型公开了一种气雾剂取样装置,其包括有:可拆支座,所述可拆支座上开设有容纳腔,所述容纳腔用于放置气雾剂容器;过渡支座,所述可拆支座设置在所述过渡支座上并与所述过渡支座可拆卸连接。通过将气雾剂容器放置在可拆支座的容纳腔内,取样时,操作人员把可拆支座取下,将可拆支座和气雾剂容器一起振摇,待气雾剂充分混合后迅速将可拆支座放入过渡支座,按压气雾剂容器的驱动按钮即可进行取样,过渡支座代替人手支撑,稳定性更好,避免操作人员两只手同时操作造成的疲劳,提高了取样效率,而且在振摇后可拆支座能够快速安装到过渡支座上,缩短振摇与取样之间的间隔时间,保证振摇的效果,防止气雾剂混合不均匀。


