授权公布号:CN206521882U
屋椽型材与水槽型材的转角调节装置
有效
申请
2017-02-28
申请公布
1970-01-01
授权
2017-09-26
预估到期
2027-02-28
| 申请号 | CN201720189236.3 |
| 申请日 | 2017-02-28 |
| 授权公布号 | CN206521882U |
| 授权公告日 | 2017-09-26 |
| 分类号 | E04D13/00 |
| 分类 | 建筑物; |
| 申请人名称 | 山东易欧思门窗系统科技有限公司 |
| 申请人地址 | 山东省潍坊市临朐县东环路5188号 |
专利法律状态
2017-09-26
授权
状态信息
授权
摘要
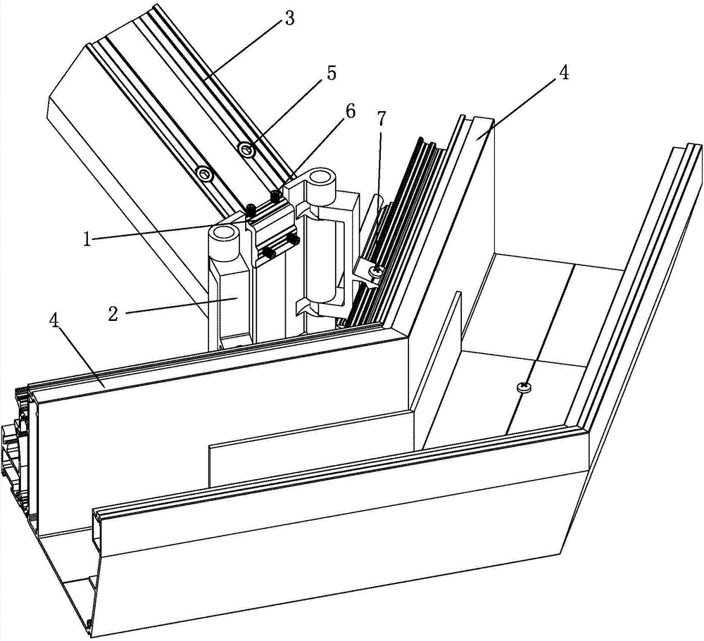
本实用新型公开了一种屋椽型材与水槽型材的转角调节装置,包括通过组合式连接件连接的屋椽型材和水槽型材,组合式连接件包括屋椽连接件和水槽连接件;屋椽连接件包括转轴、分别与转轴铰接的屋椽连接座和过度连接座;水槽连接件包括基座、基座相对的两侧皆设有枢轴和连接臂,连接臂通过枢轴与基座转动连接;屋椽连接座与屋椽型材之间、过度连接座与基座之间、连接臂与水槽型材之间分别通过螺纹紧固件固定连接。本实用新型的屋椽型材与水槽型材的转角调节装置,能够方便灵活地调节屋椽型材、水槽型材的角度,实现了屋椽型材、水槽型材的任意角度调节,消减了安装误差;免去了繁琐的型材加工工艺,加工方便,提高了安装效率。


