授权公布号:CN204040799U
一种型材组角用复合角码
有效
申请
2014-07-31
申请公布
1970-01-01
授权
2014-12-24
预估到期
2024-07-31
| 申请号 | CN201420430281.X |
| 申请日 | 2014-07-31 |
| 授权公布号 | CN204040799U |
| 授权公告日 | 2014-12-24 |
| 分类号 | E06B3/964;E04B2/88 |
| 分类 | 一般门、窗、百叶窗或卷辊遮帘;梯子; |
| 申请人名称 | 山东易欧思门窗系统科技有限公司 |
| 申请人地址 | 山东省潍坊市临朐县东环路5188号 |
专利法律状态
2014-12-24
授权
状态信息
授权
摘要
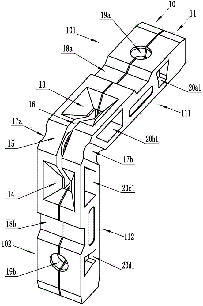
本实用新型属于型材组装用配件技术领域,尤其涉及一种型材组角用复合角码,包括对称设置的第一角码体和第二角码体;在拐角处的内侧面上设有沿第一连接臂、第二连接臂延伸的第一导流槽;两第一连接臂邻接处的外侧面上设有第一注胶槽,两第二连接臂邻接处的外侧面上设有第二注胶槽;在拐角处的外侧面上设有第二导流槽;邻接面上的拐角处设有第三导流槽,分别与第一导流槽、第一注胶槽、第二注胶槽、第二导流槽连通;在第一角码体远离邻接面的侧面拐角处、第二角码体远离邻接面的侧面拐角处上分别设置有连通第一导流槽与第二导流槽的第四导流槽;使用时,可以增强型材组角后连接强度,同时能够增强组角处的平整度,避免在型材组角处发生漏水。


