授权公布号:CN218220605U
一种防误按压的瓶装消毒抗菌喷壶
有效
申请
2022-04-25
申请公布
1970-01-01
授权
2023-01-06
预估到期
2032-04-25
| 申请号 | CN202220976823.8 |
| 申请日 | 2022-04-25 |
| 授权公布号 | CN218220605U |
| 授权公告日 | 2023-01-06 |
| 分类号 | A61J1/05;A61J1/14;A61M11/00;B05B11/00 |
| 分类 | 医学或兽医学;卫生学; |
| 申请人名称 | 海洁(重庆)卫生用品股份有限公司 |
| 申请人地址 | 重庆市经开区长生桥镇茶园新区通江大道215号8-10 |
专利法律状态
2023-01-06
授权
状态信息
授权
摘要
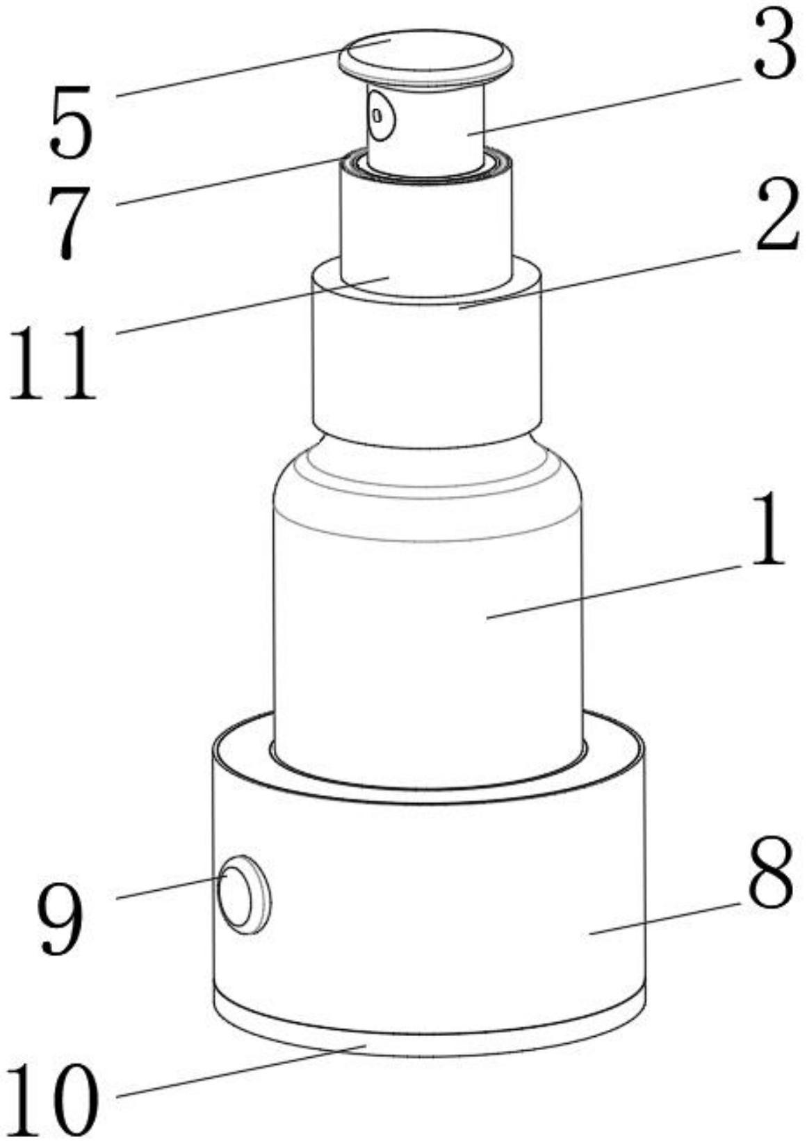
本实用新型提供一种防误按压的瓶装消毒抗菌喷壶,涉及瓶装消毒喷剂技术领域,包括瓶体,所述瓶体顶面设有头冒,所述头冒包括瓶口连接端和按压连接端,所述瓶体内部设有出水管,所述按压连接端顶面设有按压头,且按压头嵌合于按压连接端内部,所述按压头顶面设有压板,所述按压连接端的表面套接有防按压外壳,所述防按压外壳顶面的凹槽内安装有磁铁,所述压板底面设有金属圈,在不需要使用喷剂时可将喷剂瓶的按压端进行限位,有效的防止按压端被误触,提高了使用者的使用体验。


