授权公布号:CN217808693U
一种消毒液加工用灌装装置
有效
申请
2022-05-25
申请公布
1970-01-01
授权
2022-11-15
预估到期
2032-05-25
| 申请号 | CN202221281032.X |
| 申请日 | 2022-05-25 |
| 授权公布号 | CN217808693U |
| 授权公告日 | 2022-11-15 |
| 分类号 | B67C3/24;B67C3/26;B67C3/22 |
| 分类 | 开启或封闭瓶子、罐或类似的容器;液体的贮运; |
| 申请人名称 | 海洁(重庆)卫生用品股份有限公司 |
| 申请人地址 | 重庆市经开区长生桥镇茶园新区通江大道215号8-10 |
专利法律状态
2022-11-15
授权
状态信息
授权
摘要
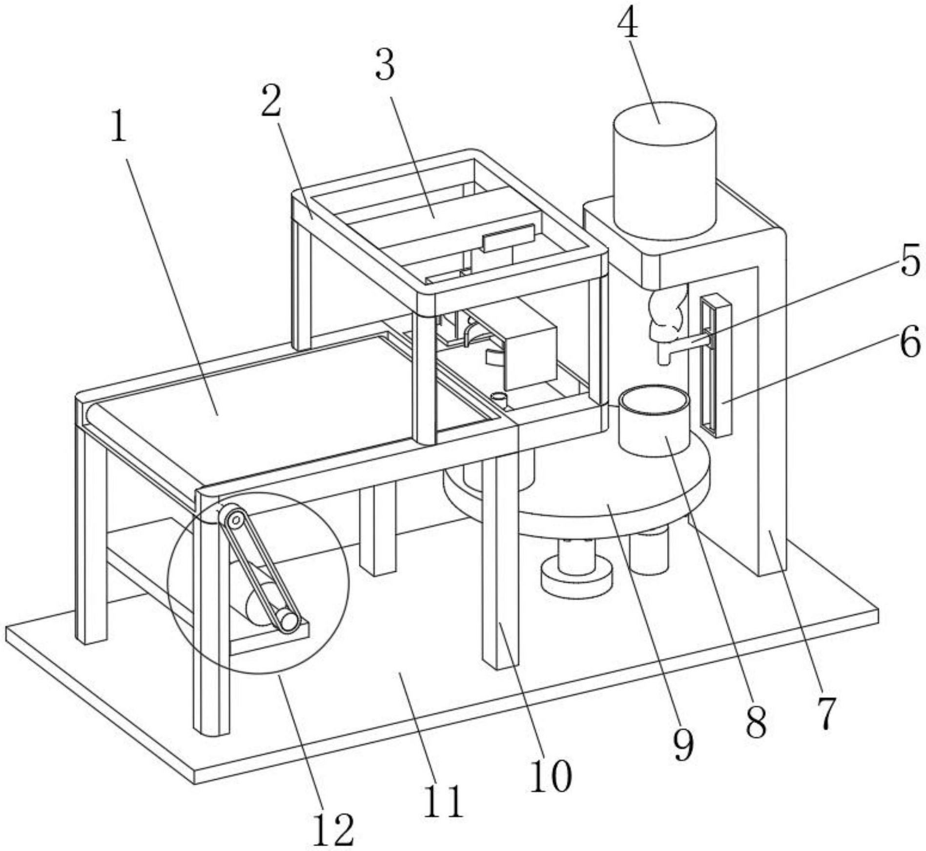
本实用新型提供一种消毒液加工用灌装装置,涉及消毒液生产技术领域,包括转盘,所述转盘的顶面安装有限位槽,所述转盘的两侧分别设有支撑框架和支撑板,所述支撑框架的顶部安装有固定架,所述固定架的内部设有连接架,且连接架位于限位槽的底部,所述连接架的内部设有固定夹和活动夹,且固定夹和连接架内壁连接,所述活动夹的侧面设有第二气缸,且第二气缸的伸缩杆端部和活动夹连接,所述支撑板的内部设有灌装管,且灌装管位于限位槽的顶部。采用限位槽,在灌装的同时,下一个空瓶体进行上料,等到灌装的瓶体灌装完成并取下之后,转盘转动,下一个瓶体开始灌装工作,往复运动,既可以保证灌装的效率,也可以保证空瓶体的稳定性。


