授权公布号:CN114541163B
一种制浆胶黏物处理设备及其操作方法
有效
申请
2022-02-10
申请公布
2022-05-27
授权
2024-01-23
预估到期
2042-02-10
| 申请号 | CN202210125668.3 |
| 申请日 | 2022-02-10 |
| 申请公布号 | CN114541163A |
| 申请公布日 | 2022-05-27 |
| 授权公布号 | CN114541163B |
| 授权公告日 | 2024-01-23 |
| 分类号 | D21D5/04;D21D5/20;B01D33/01;B01D33/11;B01D33/41;B01D33/46;B01D33/80 |
| 分类 | 造纸;纤维素的生产; |
| 申请人名称 | 山鹰国际控股股份公司 |
| 申请人地址 | 安徽省马鞍山市花山区勤俭路3号 |
专利法律状态
2024-01-23
授权
状态信息
授权
2022-06-14
实质审查的生效
状态信息
实质审查的生效;IPC(主分类):D21D5/04;申请日:20220210
2022-05-27
公布
状态信息
公布
摘要
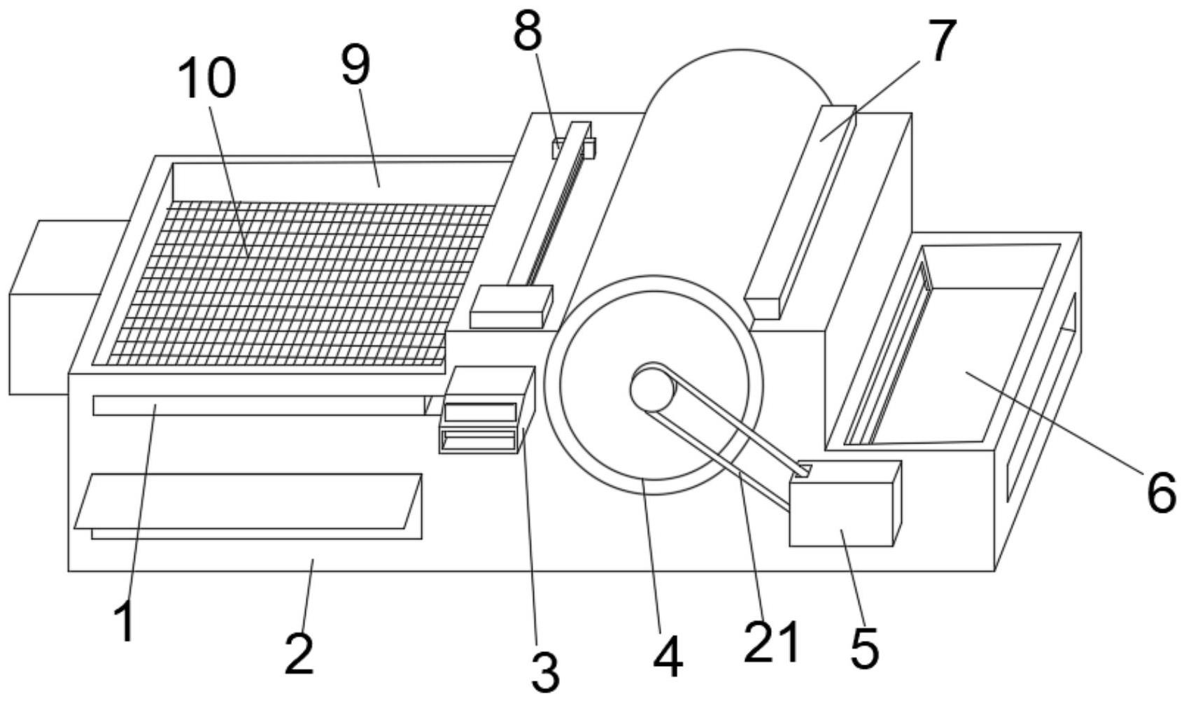
本发明公开一种制浆胶黏物处理设备及其操作方法,包括固定底座和离心筛筒,所述离心筛筒活动安装在固定底座的上端内侧,所述固定底座的内表面靠近离心筛筒的一侧活动安装有晃动框,所述晃动框的内侧活动安装有用来对纸浆进行过滤的过滤网,所述晃动框的一端内部位置活动安装有配合过滤网一端使用的第一卷筒,且晃动框的另一端内部位置活动安装有配合过滤网另一端使用的第二卷筒;利用晃动框和离心筛筒的设置,使得该制浆胶黏物处理设备具有多重过滤结构,通过增加离心筛筒,使得末端精筛良浆通过离心筛筒处理,提高良浆洁净度,减少末端精筛尾渣的外排,减少原料的浪费。


