授权公布号:CN220379084U
一种旋转雾化器冷却水进水管防漏结构
有效
申请
2023-06-14
申请公布
1970-01-01
授权
2024-01-23
预估到期
2033-06-14
| 申请号 | CN202321522911.1 |
| 申请日 | 2023-06-14 |
| 授权公布号 | CN220379084U |
| 授权公告日 | 2024-01-23 |
| 分类号 | F16L5/00;F16L5/10 |
| 分类 | 工程元件或部件;为产生和保持机器或设备的有效运行的一般措施;一般绝热; |
| 申请人名称 | 山鹰国际控股股份公司 |
| 申请人地址 | 安徽省马鞍山市花山区勤俭路3号 |
专利法律状态
2024-01-23
授权
状态信息
授权
摘要
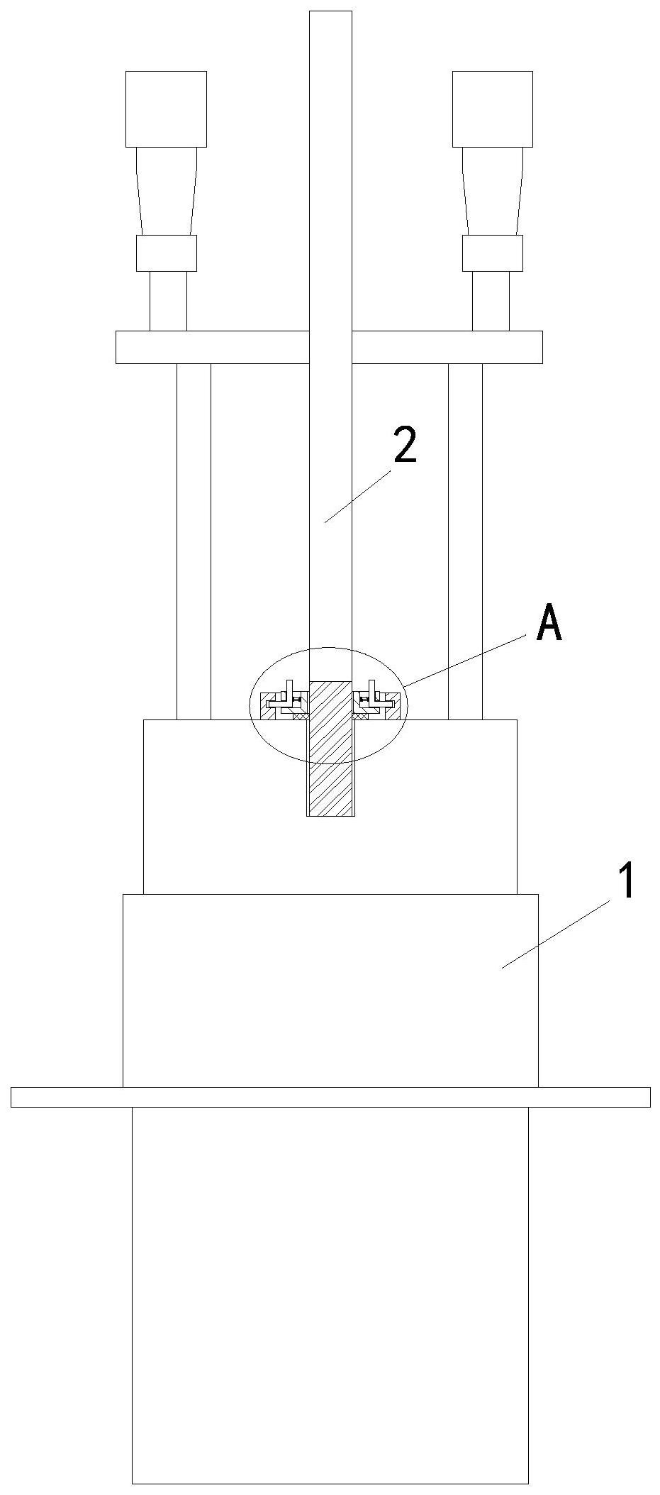
本实用新型公开了一种旋转雾化器冷却水进水管防漏结构,涉及进水管的连接技术领域,包括旋转雾化器本体和设置有丝牙的冷却水进水管,所述冷却水进水管的外部套设有盖帽,所述盖帽与冷却水进水管接触的部分也设置有螺纹,所述盖帽的底部还设置有垫圈,所述垫圈介于盖帽和旋转雾化器本体之间;通过使得盖帽将垫圈紧紧地压在旋转雾化器本体表面,实现对冷却水进水管与旋转雾化器本体连接处的密封,同时盖帽也将实现对垫圈位置的固定,以及进一步实现对冷却水进水管的固定,减少丝牙产生松动、减缓丝牙的磨损,避免冷却水进水管与旋转雾化器本体连接处出现漏水。


