授权公布号:CN106123189B
具有双风道结构的雾化风扇
失效
申请
2016-08-24
申请公布
2016-11-16
授权
2022-02-01
预估到期
2036-08-24
| 申请号 | CN201610707232.X |
| 申请日 | 2016-08-24 |
| 申请公布号 | CN106123189A |
| 申请公布日 | 2016-11-16 |
| 授权公布号 | CN106123189B |
| 授权公告日 | 2022-02-01 |
| 分类号 | F24F6/16;F24F13/06 |
| 分类 | 供热;炉灶;通风; |
| 申请人名称 | 佛山市机灵电器科技有限公司 |
| 申请人地址 | 广东省佛山市顺德区北滘镇广教工业开发区2号之二 |
专利法律状态
2023-09-01
专利权的终止
状态信息
未缴年费专利权终止;IPC(主分类):F24F6/16;专利号:ZL201610707232X;申请日:20160824;授权公告日:20220201;终止日期:
2022-02-01
授权
状态信息
授权
2016-12-14
实质审查的生效
状态信息
实质审查的生效;IPC(主分类):F24F6/16;申请日:20160824
2016-11-16
公布
状态信息
公布
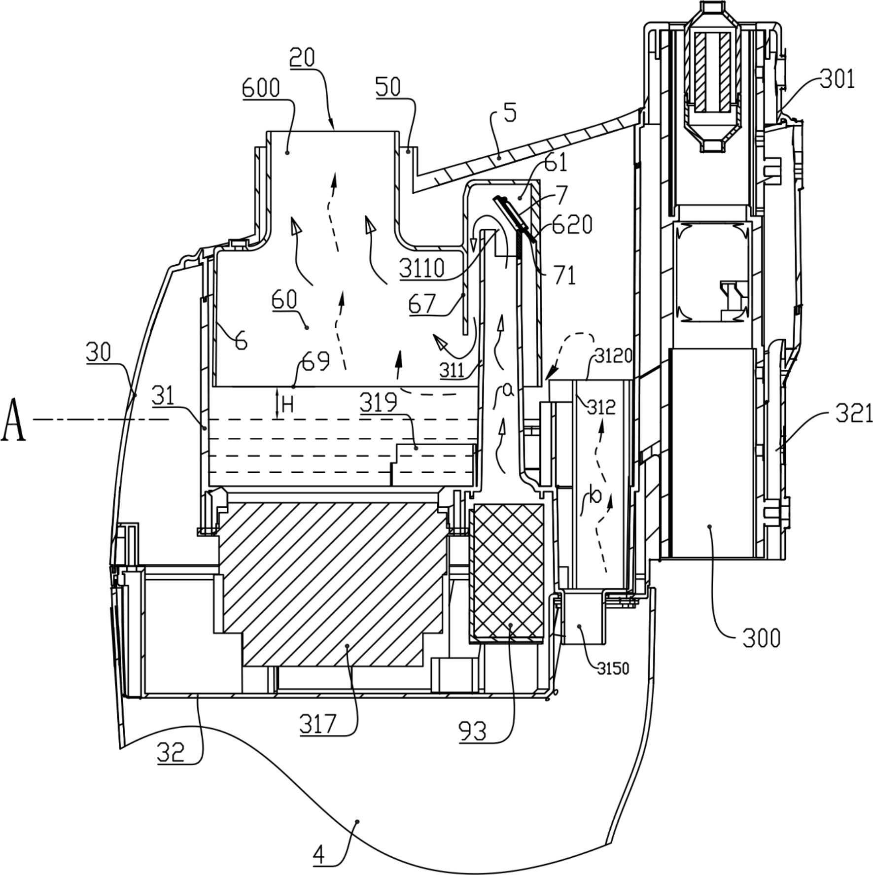
摘要
本发明涉及一种具有双风道结构的雾化风扇,包括能够吹送出强制气流的风扇头、雾化箱,所述雾化箱包括能够盛装液体的雾化腔、能够对所述雾化腔内的液体予以雾化的雾化装置,所述雾化箱上设置有出雾口,所述出雾口上连通有能够向所述风扇头提供雾化汽的雾化汽管,所述雾化箱还包括有能够给所述雾化腔强制送风的强制送风通道,所述强制送风通道中设置有鼓风机;其特征在于,在所述雾化箱上还设置有自然送风通道,所述自然送风通道的自然送风出口连通到所述雾化腔,自然送风进口连通到所述雾化箱的外界空间。这样,雾化风扇能够在相同能耗单位上提供更大量的雾化汽。


