授权公布号:CN217319140U
基于工业机器人的儿童折叠浴盆二次包胶注塑装置
有效
申请
2021-12-28
申请公布
1970-01-01
授权
2022-08-30
预估到期
2031-12-28
| 申请号 | CN202123396975.5 |
| 申请日 | 2021-12-28 |
| 授权公布号 | CN217319140U |
| 授权公告日 | 2022-08-30 |
| 分类号 | B29C45/42 |
| 分类 | 塑料的加工;一般处于塑性状态物质的加工; |
| 申请人名称 | 浙江贝莱氏婴童用品股份有限公司 |
| 申请人地址 | 浙江省台州市黄岩区北城街道北院大道2号 |
专利法律状态
2022-08-30
授权
状态信息
授权
摘要
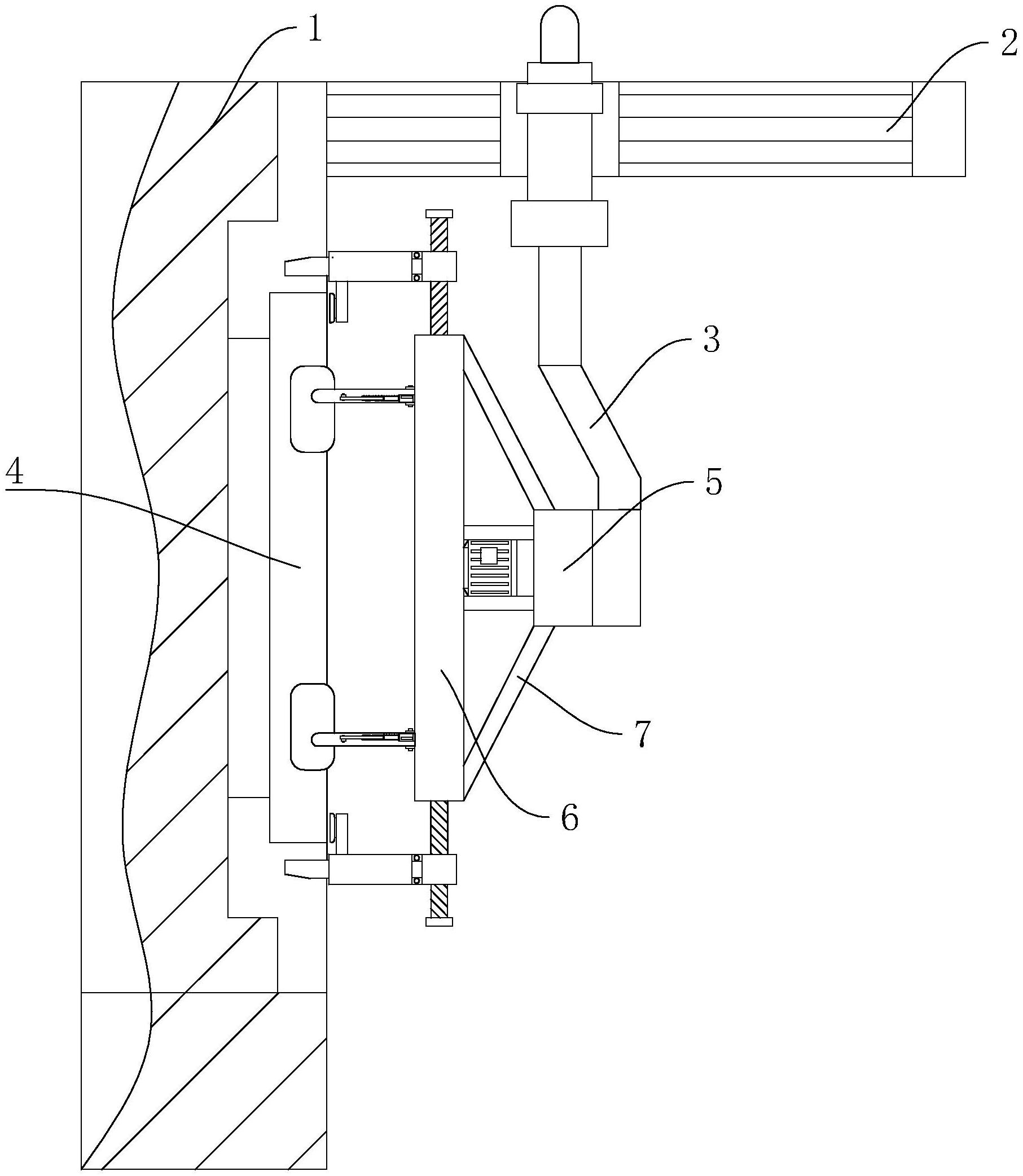
本实用新型属于工业机器人注塑技术领域,尤其涉及一种基于工业机器人的儿童折叠浴盆二次包胶注塑装置。本实用新型,包括包胶注塑加工主体,所述包胶注塑加工主体上设置有驱动组件,所述驱动组件上设置有取料机械臂,所述侧边驱动仓的内腔中竖直设置有反向驱动螺杆。本实用新型通过设置的夹持取料杆和侧边夹持板,夹持取料杆能够在反向驱动螺杆的驱动下,使得夹持取料杆对包胶注塑件的上下两侧进行夹持固定,且还通过在夹持取料杆底端垂直相连的抵触连接杆上的抵触吸盘与包胶注塑件的表面相吸,再次对包胶注塑件的表面相固定,避免了取料过程中注塑件因吸盘不稳而脱落,保护了注塑件的安全平稳取出,使得加工效率更高。


