授权公布号:CN204431628U
一种双色转轴注塑机
有效
申请
2015-01-12
申请公布
1970-01-01
授权
2015-07-01
预估到期
2025-01-12
| 申请号 | CN201520019479.3 |
| 申请日 | 2015-01-12 |
| 授权公布号 | CN204431628U |
| 授权公告日 | 2015-07-01 |
| 分类号 | B29C45/16;B29C45/04 |
| 分类 | 塑料的加工;一般处于塑性状态物质的加工; |
| 申请人名称 | 东莞富强鑫塑胶机械制造有限公司 |
| 申请人地址 | 广东省东莞市大朗镇石厦村金厦东路18号 |
专利法律状态
2015-07-01
授权
状态信息
授权
摘要
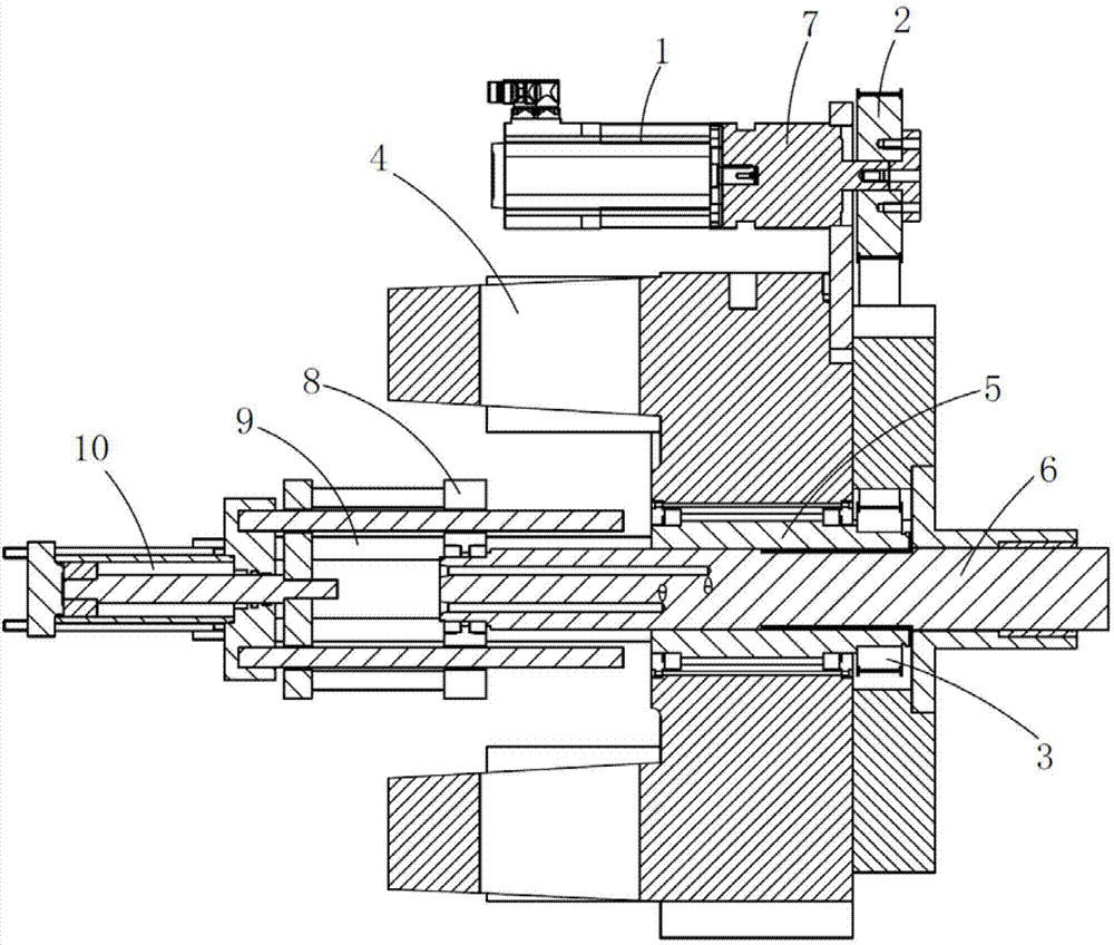
本实用新型公开了一种双色转轴注塑机,包括伺服电机、第一皮带轮、第二皮带轮、活动车壁、回转轴、托模杆和模具内板,伺服电机连接第一皮带轮,第一皮带轮连接第二皮带轮,第二皮带轮固定于回转轴,回转轴通过轴承座安装于活动车壁,托模杆固定于回转轴,模具内板固定于托模杆的前端,伺服电机转动时带动模具内板旋转。本实用新型结构简单,生产周其短,无油渍污染。


