授权公布号:CN215245845U
一种颗粒包装机的装袋下料斗下料均衡器
有效
申请
2021-05-27
申请公布
1970-01-01
授权
2021-12-21
预估到期
2031-05-27
| 申请号 | CN202121170024.3 |
| 申请日 | 2021-05-27 |
| 授权公布号 | CN215245845U |
| 授权公告日 | 2021-12-21 |
| 分类号 | B65B39/00;B65G65/00 |
| 分类 | 输送;包装;贮存;搬运薄的或细丝状材料; |
| 申请人名称 | 洛阳远洋生物制药有限公司 |
| 申请人地址 | 河南省洛阳市偃师市翟镇镇甄庄村 |
专利法律状态
2021-12-21
授权
状态信息
授权
摘要
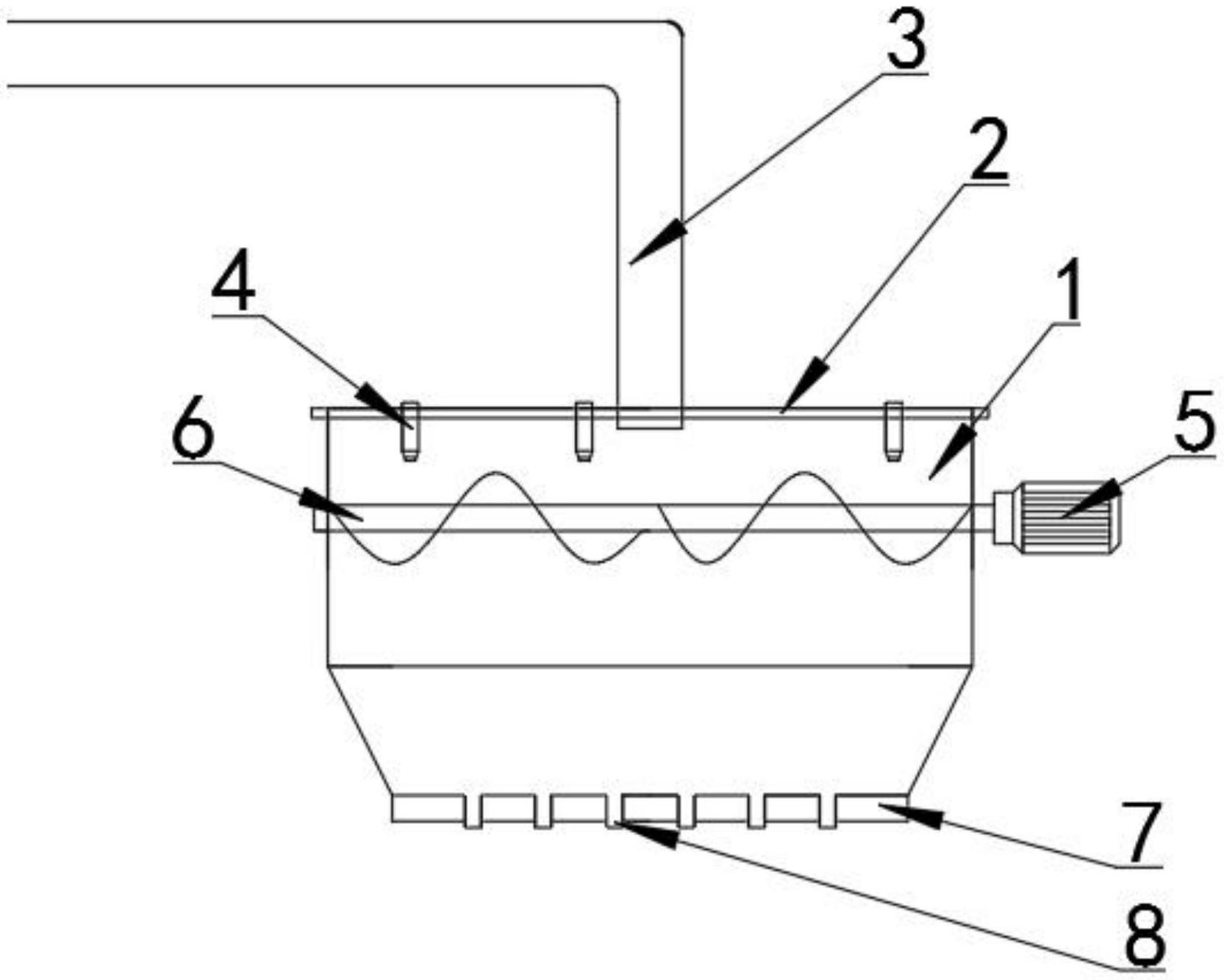
一种颗粒包装机的装袋下料斗下料均衡器,料斗内横向转动设置双向绞龙,料斗的外侧对应双向绞龙的一端设置电机,料斗的下端设置分料器,料斗盖中横向均匀分布三个料位传感器,料斗盖中部垂直设置进料管,进料管的出料端贯穿料斗盖伸入料斗内部,所述的双向绞龙朝向电机一端的端部贯穿所对应侧的料斗壁与电机的动力输出端连接,所述的分料器上横向均匀分布六个下料口;通过电机带动双向绞龙旋转,能够将料斗底部中堆积的原料颗粒向料斗两侧拨动,使料斗内的颗粒原料均匀分布、分料器上的分料口均匀下料,保证产品物料分装量均匀、一致。


