授权公布号:CN110701345B
一种压铸机压射单向阀及应用其的压铸机液压系统
有效
申请
2019-10-10
申请公布
2020-01-17
授权
2024-03-15
预估到期
2039-10-10
| 申请号 | CN201910960326.1 |
| 申请日 | 2019-10-10 |
| 申请公布号 | CN110701345A |
| 申请公布日 | 2020-01-17 |
| 授权公布号 | CN110701345B |
| 授权公告日 | 2024-03-15 |
| 分类号 | F16K15/02;F16K27/02;F16K1/36;F16K1/46;F15B13/02;F15B13/16;B22D17/20 |
| 分类 | 工程元件或部件;为产生和保持机器或设备的有效运行的一般措施;一般绝热; |
| 申请人名称 | 伊之密股份有限公司 |
| 申请人地址 | 广东省佛山市顺德高新区(容挂)科苑三路22号 |
专利法律状态
2024-03-15
授权
状态信息
授权
2020-01-17
公布
状态信息
公布
摘要
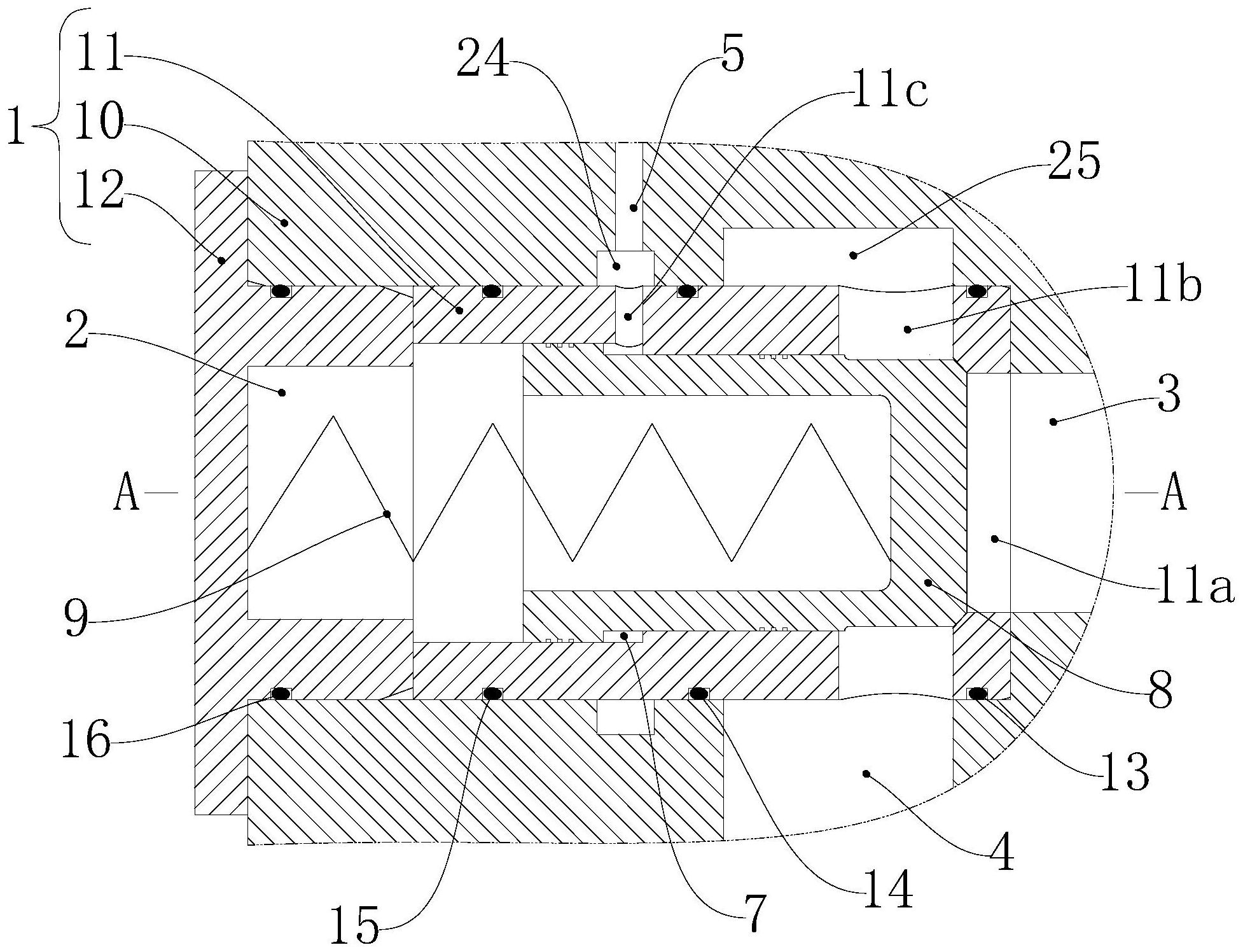
本发明公开了一种压铸机压射单向阀,该单向阀包括阀体、安装腔、进油孔、出油孔、主控制油孔、副控制油孔、油槽、阀芯和弹性复位机构;安装腔设置在所述阀体内,所述阀芯沿轴向活动设置在所述安装腔内;所述进油孔沿所述阀芯的轴向设置且导通连接所述安装腔与外部的供油装置;所述出油孔导通连接所述安装腔与外部压铸装置的压射后腔;所述阀芯的一端与所述进油孔相对,所述弹性复位机构连接于所述阀芯的另一端与所述安装腔之间;本发明旨在提供一种能够实现主动开启、迅速关闭的压铸机压射单向阀及应用其的压铸机液压系统,在慢速或快速进油时减少压力损失,通流量大,在增压时迅速关闭,反应迅速,结构简单,维修方便。


