授权公布号:CN217957542U
一种板卡对插防松锁扣
有效
申请
2022-05-07
申请公布
1970-01-01
授权
2022-12-02
预估到期
2032-05-07
| 申请号 | CN202221157544.5 |
| 申请日 | 2022-05-07 |
| 授权公布号 | CN217957542U |
| 授权公告日 | 2022-12-02 |
| 分类号 | H05K7/14;H05K7/18 |
| 分类 | 其他类目不包含的电技术; |
| 申请人名称 | 智邦大陆科技有限公司 |
| 申请人地址 | 上海市徐汇区虹漕路421号63号楼1F |
专利法律状态
2022-12-02
授权
状态信息
授权
摘要
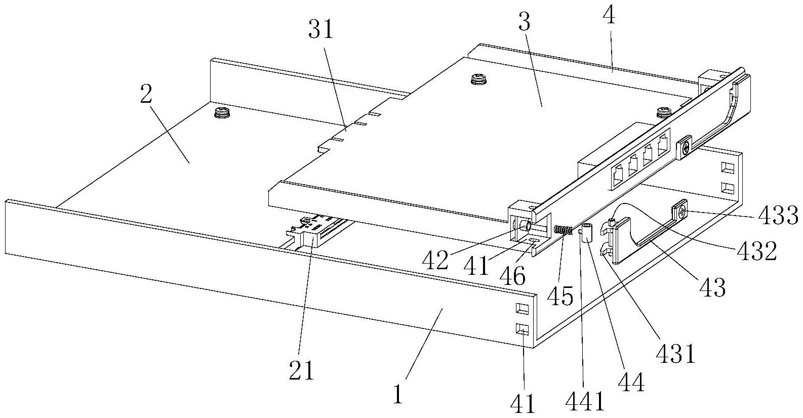
本实用新型公开了一种板卡对插防松锁扣,涉及板卡对插技术领域,包括旋转支架,旋转支架以旋转的方式设置在插卡托盘的前面板两侧,插卡托盘上固定设有插卡,插卡托盘以拔插的方式设置在机箱上,插卡托盘的前面板两侧设有用于安装旋转支架的槽口,旋转支架位于槽口内的一端设有旋转轴,槽口上贯穿设有用于安装旋转轴的轴孔;旋转轴的两端设有旋转锁扣,机箱的两侧对应旋转锁扣的位置设有适配的槽位;两个旋转锁扣之间套设有旋转轴套,旋转轴套与槽口的底部之间固定有压缩的弹性件。本实用新型对板卡对插加工或者设计尺寸公差要求不高,可使板卡对插在稳定连接的同时,不会松动,也不会过紧导致硬接触造成连接器或者板卡损伤。


