授权公布号:CN218784014U
一种用于户外AP设备接口密封结构
有效
申请
2022-11-08
申请公布
1970-01-01
授权
2023-03-31
预估到期
2032-11-08
| 申请号 | CN202222971377.4 |
| 申请日 | 2022-11-08 |
| 授权公布号 | CN218784014U |
| 授权公告日 | 2023-03-31 |
| 分类号 | H05K5/06;H05K5/02;H05K5/03 |
| 分类 | 其他类目不包含的电技术; |
| 申请人名称 | 智邦大陆科技有限公司 |
| 申请人地址 | 上海市徐汇区虹漕路421号63号楼1F |
专利法律状态
2023-03-31
授权
状态信息
授权
摘要
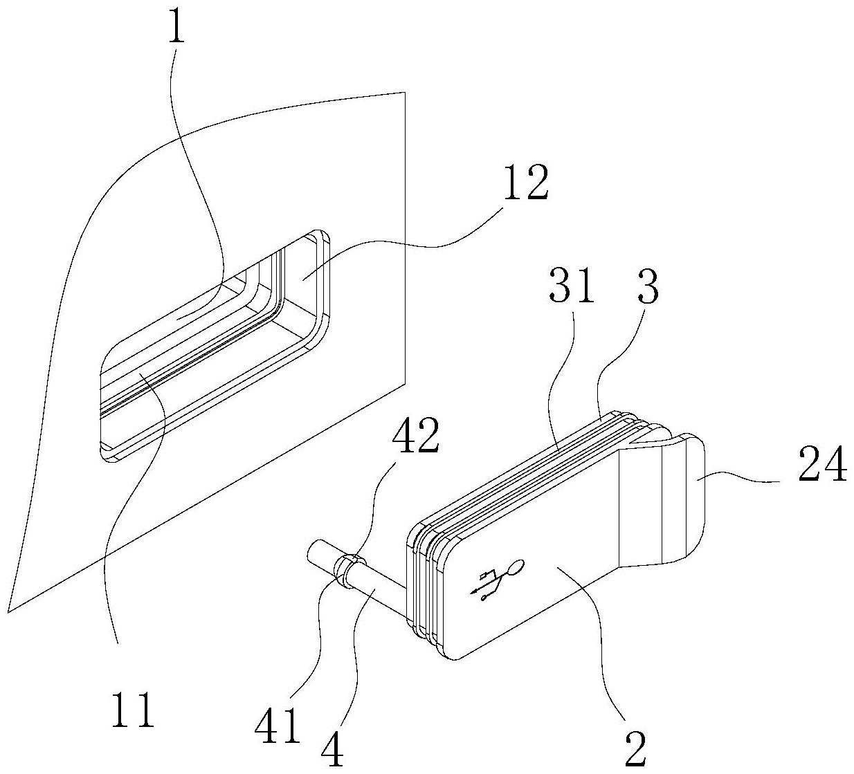
本实用新型公开了一种用于户外AP设备接口密封结构,涉及AP设备接口密封技术领域,包括接口和密封塞,接口由内密封接口和外密封接口组成;密封塞包括硬胶盖体和软胶套体,硬胶盖体上设有后连接端,软胶套体套接在后连接端上,后连接端的前端设有与内密封接口尺寸大小相适配的前连接端;软胶套体的一侧设有连接杆,外密封接口的一侧设有与连接杆适配的连接孔,连接杆上设有限位的凸环。本实用新型通过将耐候性的液态硅胶材料和耐候性的硬胶材料采用双色注塑的方式,使产品融为一体,提高产品外观美观,使其耐候性好,手感好,使用寿命大幅提升,大大提升了用户体验感和产品的IP防护竞争力。


