授权公布号:CN218213985U
一种可兼容安装多种PCIe卡组合的结构装置
有效
申请
2022-06-25
申请公布
1970-01-01
授权
2023-01-03
预估到期
2032-06-25
| 申请号 | CN202221600172.9 |
| 申请日 | 2022-06-25 |
| 授权公布号 | CN218213985U |
| 授权公告日 | 2023-01-03 |
| 分类号 | G06F1/18 |
| 分类 | 计算;推算;计数; |
| 申请人名称 | 智邦大陆科技有限公司 |
| 申请人地址 | 上海市徐汇区虹漕路421号63号楼1F |
专利法律状态
2023-01-03
授权
状态信息
授权
摘要
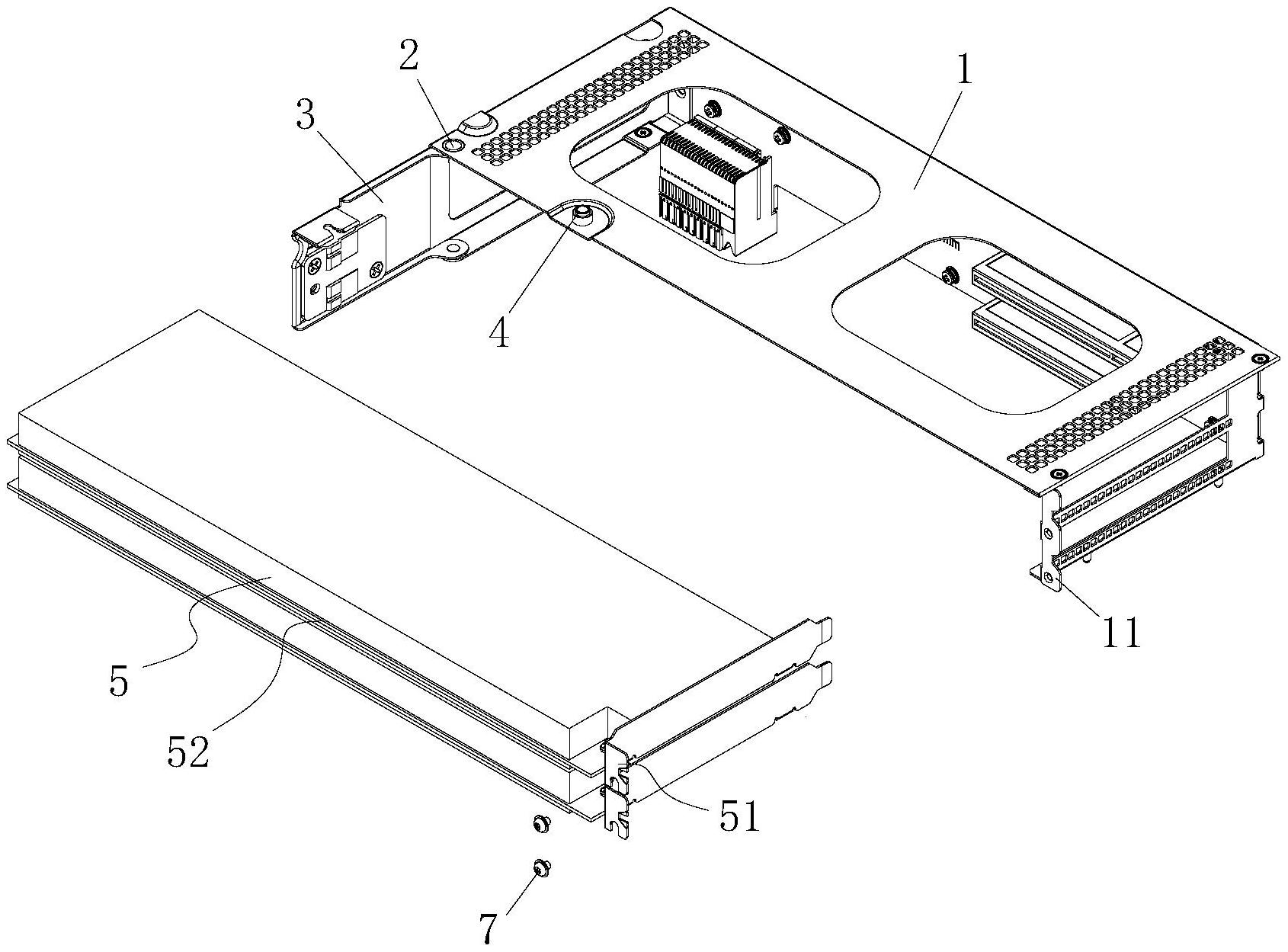
本实用新型公开了一种可兼容安装多种PCIe卡组合的结构装置,涉及PCIe卡组合技术领域,包括主体支架,主体支架上设有插槽,插槽内插设有多个PCIe卡,主体支架位于插槽槽口的一侧连接有旋转固定支架,另一侧固定有第一支耳;旋转固定支架对应主体支架的一侧设有锁板,锁板与主体支架之间设有锁止机构;旋转固定支架对应每个PCIe卡的位置均设有卡槽,PCIe卡上设有与卡槽相适配的限位凸缘;PCIe卡对应第一支耳的一侧设有第二支耳,第二支耳与第一支耳之间设有用于固定的固定螺栓。本实用新型可实现兼容多种长度尺寸的PCIe卡,适用于多种PCIe卡排列组合,安装操作方便,成本低。


