授权公布号:CN114343358B
一种立柱底盘联动机构
有效
申请
2021-12-13
申请公布
2022-04-15
授权
2024-03-08
预估到期
2041-12-13
| 申请号 | CN202111520662.8 |
| 申请日 | 2021-12-13 |
| 申请公布号 | CN114343358A |
| 申请公布日 | 2022-04-15 |
| 授权公布号 | CN114343358B |
| 授权公告日 | 2024-03-08 |
| 分类号 | A47B91/00;A47B91/06;A47B43/00 |
| 分类 | 家具;家庭用的物品或设备;咖啡磨;香料磨;一般吸尘器; |
| 申请人名称 | 乐歌人体工学科技股份有限公司 |
| 申请人地址 | 浙江省宁波市鄞州区经济开发区启航南路588号(鄞州区瞻岐镇) |
专利法律状态
2024-03-08
授权
状态信息
授权
2022-05-03
实质审查的生效
状态信息
实质审查的生效;IPC(主分类):A47B91/00;申请日:20211213
2022-04-15
公布
状态信息
公布
摘要
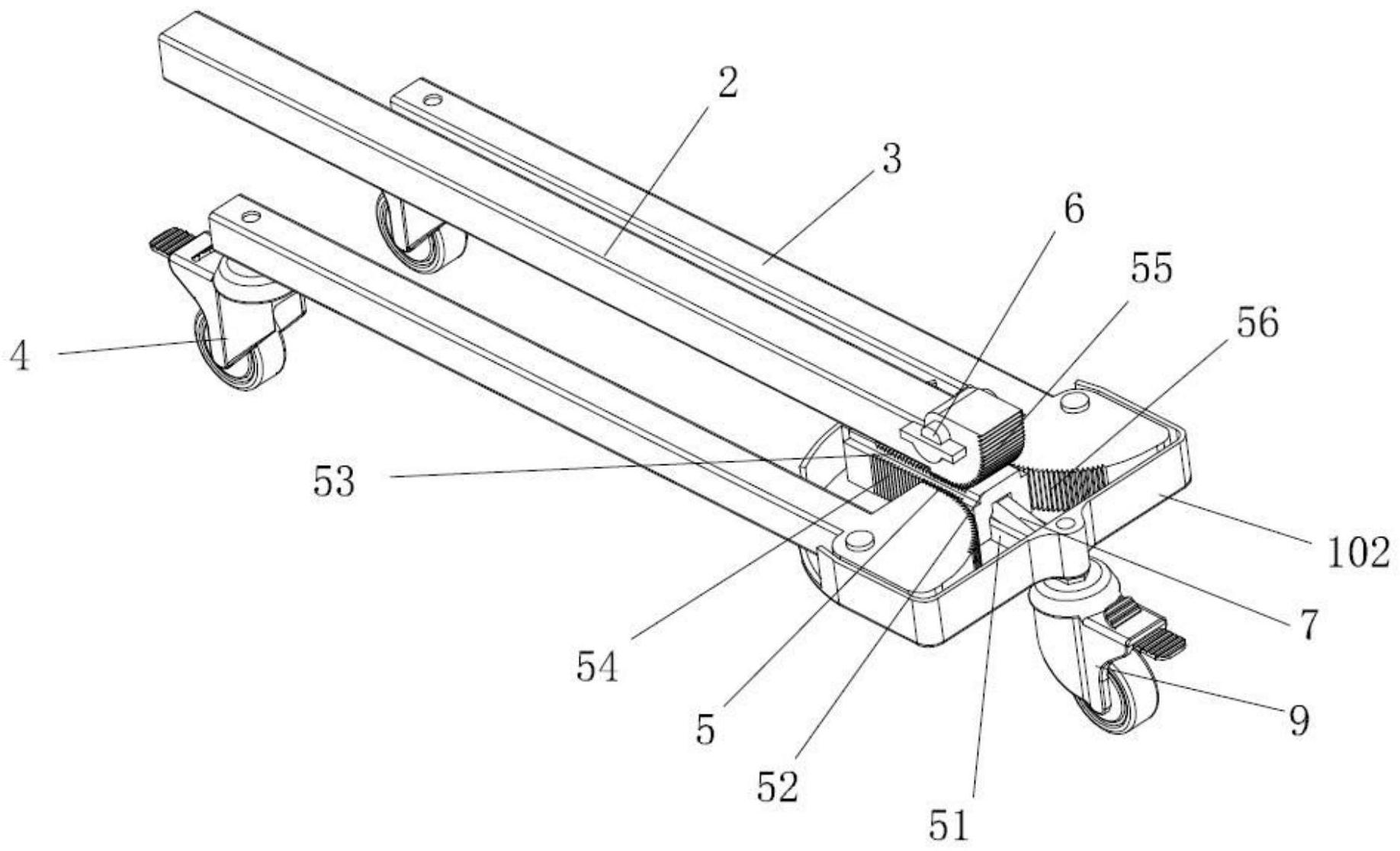
本发明公开了一种立柱底盘联动机构,涉及到一种联动机构,包括底座、立柱、撑杆、第一支脚和联动机构,底座的上端设有立柱,立柱可围绕底座旋转,底座的内部设有联动机构,立柱的一端与联动机构连接,底座的一侧设有两撑杆,每一撑杆的一端分别伸入底座内并与联动机构连接,撑杆的另一端设有第一支脚,立柱旋转可驱动联动机构带动两撑杆旋转。本发明中,立柱与底盘上的撑杆之间通过联动机构连接,当立柱旋转时可带动底盘上的撑杆自动打开或折叠,能够避免频繁的安装和拆卸的繁琐动作,安装便捷,使用方便,且折叠后包装体积小,便于搬运。


