授权公布号:CN220235220U
一种控制盒安装结构
有效
申请
2023-06-01
申请公布
1970-01-01
授权
2023-12-22
预估到期
2033-06-01
| 申请号 | CN202321383181.1 |
| 申请日 | 2023-06-01 |
| 授权公布号 | CN220235220U |
| 授权公告日 | 2023-12-22 |
| 分类号 | H05K7/14;H05K5/02 |
| 分类 | 其他类目不包含的电技术; |
| 申请人名称 | 乐歌人体工学科技股份有限公司 |
| 申请人地址 | 浙江省宁波市鄞州区经济开发区启航南路588号(鄞州区瞻岐镇) |
专利法律状态
2023-12-22
授权
状态信息
授权
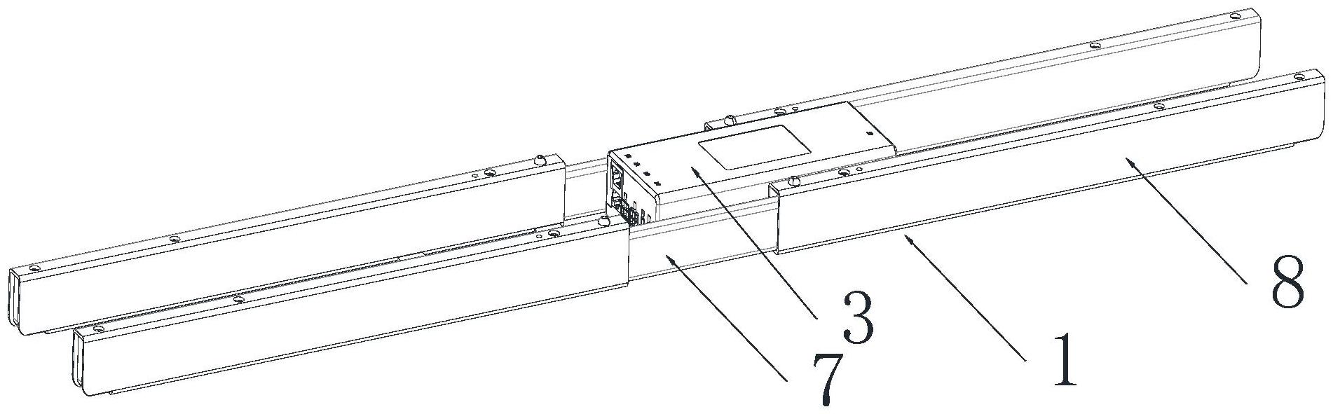
摘要
本实用新型提供了一种控制盒安装结构,包括:安装部,所述安装部上设有多个第二连接件,多个所述第二连接件沿所述安装部布置的方向设置;所述控制器上设有第一连接件,所述第一连接件与多个所述第二连接件中的任一个配合,以使所述控制器安装在所述安装部的不同位置。在安装部上沿安装部设置方向布置多个第二连接件,操作人员可选择不同位置的第二连接件,可选择远离电机较远的位置,以减少电机与控制器之间的干扰,从而保证控制器能够固定安装在安装部上。


